|
603.175 bytes |
Service Hints & Tips |
Document ID: GSMH-3BKMLM |
TP 755CE/CSE/CV/CX - FRU Removals And Replacements
Applicable to: World-Wide
FRU Removals and Replacements:
This section contains information about removals and replacements. An electrostatic discharge (ESD) strap must be used to establish personal grounding.
The system board is sensitive to, and can be damaged by, electrostatic discharge. Establish personal grounding by touching a ground point with one hand before touching these units. The arrows in the 'Removals and Replacements— section show the direction of movement to remove a FRU, or to turn a screw to release the FRU. The arrows are marked in numeric order, in square callouts, to show the correct sequence of removal.
When other FRUs must be removed before removing the failing FRU, they are listed at the top of the page. To replace a FRU, reverse the removal procedure and follow any notes that pertain to replacement. See 'Locations— for internal cable connections and arrangement information. When replacing a FRU, use the correct screw size as shown in the procedures.
Safety Notice 8:
Before removing any FRU, power-off the computer, unplug all power cords from electrical outlets, remove the battery pack, and then disconnect any interconnecting cables.
Safety Notice 3:
The battery pack contains small amounts of nickel. Do not disassemble it, throw it into fire or water, or short-circuit it. Dispose of the battery pack as required by local ordinances or regulations.
Safety Notice 1:
Before the computer is powered-on after FRU replacement, make sure all screws, springs, or other small parts, are in place and are not left loose inside the computer. Verify this by shaking the computer and listening for rattling sounds. Metallic parts or metal flakes can cause electrical short circuits.
1010 Rear Connector Door:
Remove the center latch 1 ; then remove the rear connector door by flexing it 2.
1015 Foot:
To replace the foot:
Align the foot in the open position with one pivot in its hinge in the base cover Press the other pivot point into position with your thumb or finger
1020 Battery Pack:
Notes:
1. Be careful that the computer does not fall backward when the battery pack is removed.
2. When replacing the battery pack, check that the storage switch of the new battery is set to the on (|) position. Do not operate the storage switch of a battery that has been used and is going to be re-used.
3. Check that the keyboard latch springs are in place.
1030 Diskette Drive:
Battery Pack (1020)
Note:
Remove the diskette drive exactly as shown in the figure. Do not apply any extra force to the top surface of the diskette drive. Make sure the media is removed, or the media and the drive may be damaged.
Warning:
When replacing the diskette drive, check that the backup battery and standby battery are seated correctly to prevent damage to the diskette drive.
After replacing the diskette drive, latch the removal strap into the correct position.
1040 Hard Disk Drive:
Battery Pack (1020)
Notes:
1. Do not drop or apply any shock to the hard disk drive. The hard disk drive is sensitive to physical shock. Incorrect handling can cause damage it, and cause permanent loss of data on the hard disk. Before removing the hard disk drive, have the user make a backup copy of all the information on the hard disk. Never remove the hard disk drive while the system is operating or is in suspend mode.
2. Remove the hard disk drive exactly as shown in the figure. Do not apply any extra force to the hard disk drive when removing it.
Note:
After replacing the hard disk drive, latch the removal strap into the correct position.
1050 IC DRAM Card or DIMM Adapter:
Battery Pack (1020)
Diskette Drive (1030)
Note:
One of the following combinations occupies the slot depending on the configuration.
IC DRAM card+ IC DRAM card base
DIMMs on DIMM adapter
If the IC DRAM Card is installed:
Warning:
The IC DRAM card is sensitive to physical shock. Incorrect handling of the card can damage it. The eject tape (P/N 53G9318) must be used to remove the card.
If the DIMM Adapter is installed:
Press both locks at the same time and remove the DIMM.
While holding the strap A , pull the DIMM adapter toward the front to remove it.
Notes:
1. If the IC DRAM cards or the DIMM are not installed and the base plate is installed instead of these cards, remove the plate as follows:
a. Pinch the projection A on the left side of the plate; then pull the plate slightly toward the front.
b. Raise the rear portion of the plate and remove it.
2. When inserting the DIMM into either connector on the DIMM adapter:
a. Locate the triangle 'A' on the right side of the socket.
b. With the notched end of the DIMM B toward the triangle, insert the DIMM into the socket.
c. Pivot the DIMM until it snaps into place.
If you have another DIMM to install, insert it in the other socket the same way.
1070 Diskette Drive Bezel:
Battery Pack (1020)
Diskette Drive (1030)
Insert a coin between the diskette drive bezel and the computer as shown 1 and push the bezel from the bottom of the computer 2 to remove it.
1080 Keyboard Unit:
Battery Pack (1020)
Loosen the three screws 2 , and push 3 to release the four top cover latches at the rear side of the system unit.
When removing the screw covers 1 , use a small screwdriver.
The keyboard unit is connected to the system board with flexible cables.
Warning:
Do not pull the keyboard cables. The keyboard cables can be damaged if the keyboard is disconnected without releasing the three latches 5.
Notes:
1. When replacing the keyboard, check that the three cables are clean, and inserted straight and fully into the connectors. Slide both ends of each latch at the same time to make sure that each cable is correctly inserted. Go to 'Keyboard/Auxiliary Input Device Checkout— and test all keys before returning the computer to the customer.
2. When replacing the top cover, insert the four latches at the rear side of the cover into the foot guide of the LCD; push the right, left, and front sides to snap it into place.
Use the following table for reference when replacing parts.
|
Step |
Location (Quantity) |
Length |
|
2 |
Top cover (3) |
4 mm |
Note:
Make sure you use the correct screw.
1090 Status Indicator:
Battery Pack (1020)
Keyboard Unit (1080)
Warning:
Do not pull the status indicator cable. The cable can be damaged if the status indicator is disconnected without releasing the latch in step 2.
Note:
When replacing the indicator, insert the flexible cable straight into the connector until the head of the cable stops. Slide both ends of the latches at the same time to make sure that the cable is correctly inserted.
Use the following table for reference when replacing parts.
|
Step |
Location (Quantity) |
Length |
|
1 |
LED Stand off (2) |
6 mm |
Note:
Make sure you use the correct screw.
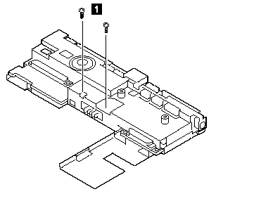
1100 Standby Battery and Front IR:
- Battery Pack (1020)
- Diskette Drive (1030)
Where:
A is the IR Cable.
B is the Standby Battery Cable.
C is the IR Lens.
Note:
When replacing the battery, make sure the battery is seated correctly. Make sure the IR Lens 2 is in the correct position by sliding it end to end.
|
Step |
Location (Quantity) |
Length |
|
1 |
cover (1) |
4 mm |
Note:
Make sure you use the correct screw.
Safety Notice 2:
The standby battery contains a small amount of nickel and cadmium. Do not disassemble it, recharge it, throw it into fire or water, or short-circuit it. Dispose of the battery as required by local ordinances or regulations.
1110 Backup Battery:
Battery Pack (1020)
Safety Notice 4:
The backup battery is a lithium battery and can cause a fire, explosion, or severe burn. Do not recharge it, remove its polarized connector, disassemble it, heat it above 100C (212 F), incinerate it, or expose its cell contents to water. Dispose of the battery as required by local ordinances or regulations. Use of an incorrect battery can result in ignition or explosion of the battery. Replacement batteries can be ordered from IBM or IBM Authorized Dealers.
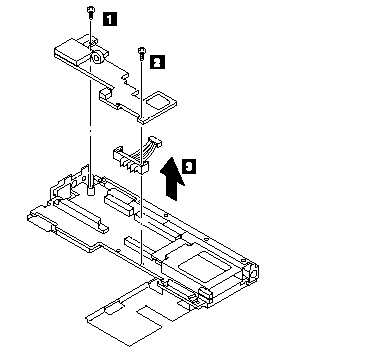
1115 Logic Assembly:
- Battery Pack (1020)
- Diskette Drive (1030)
- Hard Disk Drive (1040)
- Keyboard Unit (1080)
- Status Indicator (1090)
- Standby Battery and Front IR (1100)
The screw 1 is located at the rear bottom side.
See next page.
When Replacing Logic Assembly:
When replacing the logic assembly, align the power-key slide hub with the power-switch actuator by moving the power-key in the direction of the arrow 1. See the large circle in the figure. Before tightening any screws, check that the power-switch operates correctly.
|
Step |
Location (Quantity) |
Length |
|
1 |
Bottom cover (1) |
4 mm |
|
5 |
Logic assembly (4) |
8 mm |
Note:
Make sure you use the correct screw.
1120 Shield Assembly:
- Battery Pack (1020)
- Diskette Drive (1030)
- Hard Disk Drive (1040)
- Keyboard Unit (1080)
- Status Indicator (1090)
- Standby Battery and Front IR (1100)
- Backup Battery (1110)
- Logic Assembly (1115)
See the next page when you replace the parts.
The microphone cable can pick up electrical noise if the cable path is incorrect.
Do the following to place the cable in its correct position.
1. Position the cable as shown.
2. Install the shield assembly.
3. Move the end of cable to the right.
The following figure shows the final path of the cable. Make sure the cable is not positioned in any shaded area.
Use the following table for reference when replacing parts.
|
Step |
Location (Quantity) |
Length |
|
1 |
Shield cover (1) |
4 mm |
|
2 |
Shield cover (2) |
6 mm |
|
3 |
Shield cover (1) |
14 mm |
|
4 |
Shield cover (1) |
Flat head |
Note:
Make sure you use the correct screw.
1130 DC/DC Card
- Battery Pack (1020)
- Diskette Drive (1030)
- Hard Disk Drive (1040)
- Keyboard Unit (1080)
- Status Indicator (1090)
- Standby Battery and Front IR (1100)
- Backup Battery (1110)
- Logic Assembly (1115)
- Shield Assembly (1120)
1140 DSP Card:
- Battery Pack (1020)
- Diskette Drive (1030)
- Hard Disk Drive (1040)
- Keyboard Unit (1080)
- Status Indicator (1090)
- Standby Battery and Front IR (1100)
- Backup Battery (1110)
- Logic Assembly (1115)
- Shield Assembly (1120)
- DC-DC Card (1130)
Remove the following:
Mini-Jack Holder
Modem Guide
Modem Lever
Microphone Cable
Use the following table for reference when replacing parts.
|
Step |
Location (Quantity) |
Length |
|
1 |
DSP card (1) |
6 mm |
|
2 |
DSP card (1) |
14 mm |
Note:
Make sure you use the correct screw.
1150 Interposer Card and Rear IR:
- Battery Pack (1020)
- Diskette Drive (1030)
- Hard Disk Drive (1040)
- Keyboard Unit (1080)
- Status Indicator (1090)
- Standby Battery and Front IR (1100)
- Backup Battery (1110)
- Logic Assembly (1115)
- Shield Assembly (1120)
- DC-DC Card (1130)
- DSP Card (1140)
Where:
A is the Rear IR.
B is the Interposer Card.
Use the following table for reference when replacing parts.
|
Step |
Location (Quantity) |
Length |
|
1 |
Interposer card (1) |
4 mm |
Note:
Make sure you use the correct screw.
1160 System Board Assembly:
- Battery Pack (1020)
- Diskette Drive (1030)
- Hard Disk Drive (1040)
- Keyboard Unit (1080)
- Status Indicator (1090)
- Standby Battery and Front IR (1100)
- Backup Battery (1110)
- Logic Assembly (1115)
- Shield Assembly (1120)
- DC/DC Card (1130)
- DSP Card (1140)
- Interposer Card and Rear IR (1150)
- Processor Card (1180)
- PCMCIA Slot Assembly (1170)
Notice:
The EEPROM on the system board contains the vital product data (VPD), that is, system unit serial number, system board serial number, and other computer unique data. When the system board is replaced, the system unit serial number
must also be restored. Use the Set system identification utility on the maintenance diskette to restore the number.
Do not power-off the computer when restoring the VPD.
The serial number label is attached to the bottom cover.
Notes:
1. Before removing and replacing the system board, make sure that the PCMCIA cards are removed and the eject levers are not sticking out.
2. Do not pull the PCMCIA slot assembly while removing the system board.
1170 PCMCIA Slot Assembly:
- Battery Pack (1020)
- Diskette Drive (1030)
- Hard Disk Drive (1040)
- Keyboard Unit (1080)
- Status Indicator (1090)
- Standby Battery and Front IR (1100)
- Backup Battery (1110)
- Logic Assembly (1115)
- Shield Assembly (1120)
- DC/DC Card (1130)
- DSP Card (1140)
- Interposer Card and Rear IR (1150)
- Processor Card (1180)
- System Board Assembly (1160)
Notes:
1. When handling the PCMCIA slot assembly, be careful not to disassemble any part of it. The slot assembly is not solidly fixed when it is removed from the system board or the FRU. In step 3 , gently pull up the bottom of the center area of the connector board edge with your fingers.
2. The screw stand at each corner of the PCMCIA slot is easy to remove. Make sure that the screw stand is correctly positioned when the slot is replaced. Do not replace the slot without the screw stand.
Use the following table for reference when replacing parts.
|
Step |
Location (Quantity) |
Length |
|
1 |
PCMCIA slot, upper (2) |
4 mm |
|
2 |
PCMCIA slot, lower (2) |
14 mm |
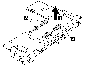
1180 Processor Card:
- Battery Pack (1020)
- Diskette Drive (1030)
- Hard Disk Drive (1040)
- Keyboard Unit (1080)
- Status Indicator (1090)
- Standby Battery and Front IR (1100)
- Backup Battery (1110)
- Logic Assembly (1115)
Turn the system board upside down. Then remove any metal tape holding the card.
To remove the processor card, gently lift the area shown by 'A' straight up. Do not pull the other areas.
Note:
If the processor card is not installed correctly, the computer may not turn on. Reinstall the card in this case.
Use the following table for reference when replacing parts.
|
Step |
Location (Quantity) |
Length |
|
1 |
Processor card assembly |
14 mm |
Note:
Make sure you use the correct screw.
1190 LCD Assembly:
Battery Pack (1020)
Keyboard Unit (1080)
Status Indicator (1090)
Note:
When removing the LCD cables '1' , pull the connector straight up. Incorrect handling can damage the connector.
Use the following table for reference when replacing parts.
|
Step |
Location (Quantity) |
Length: |
|
3 |
LCD hinge (4) |
4 mm |
Note:
Make sure you use the correct screw.
Safety Notice 5:
If the LCD breaks and the fluid from inside the LCD gets into your eyes or on your hands, immediately wash the affected areas with water for at least 15 minutes. Seek medical care if any symptoms from the fluid are present after washing.
Note:
To clean the LCD, gently wipe the LCD with a dry, soft cloth. Do not use alcohol or detergent to clean the LCD.
To avoid damaging the LCD, do not scratch or apply any force to its surface.
1195 LCD Rear Cover (755CV only):
Slightly push out and release the latches 1.
Note:
While the cover is removed from the LCD, do not touch the film ( 2 ) on the rear cover.
1200 Lower Shield Assembly:
- Battery Pack (1020)
- Diskette Drive (1030)
- Hard Disk Drive (1040)
- Keyboard Unit (1080)
- Status Indicator (1090)
- Standby Battery and Front IR (1100)
- Backup Battery (1110)
- Logic Assembly (1115)
- Shield Assembly (1120)
- DC/DC Card (1130)
- DSP Card (1140)
- Interposer Card and Rear IR (1150)
- Processor Card (1180)
- PCMCIA Slot Assembly (1170)
- System Board Assembly (1160)
1210 Memory Card:
- Battery Pack (1020)
- Diskette Drive (1030)
- Hard Disk Drive (1040)
- Keyboard Unit (1080)
- Status Indicator (1090)
- Standby Battery and Front IR (1100)
- Backup Battery (1110)
- Logic Assembly (1115)
- Shield Assembly (1120)
- DC/DC Card (1130)
- DSP Card (1140)
- Interposer Card and Rear IR (1150)
- Processor Card (1180)
- PCMCIA Slot Assembly (1170)
- System Board Assembly (1160)
- Lower Shield Assembly (1200)
Note:
If the computer does not complete POST after changing the memory card, reseat the card and try again.
|
Search Keywords |
| |
|
Hint Category |
Hardware Maintenance Information | |
|
Date Created |
19-11-96 | |
|
Last Updated |
19-08-98 | |
|
Revision Date |
18-08-99 | |
|
Brand |
IBM ThinkPad | |
|
Product Family |
ThinkPad 755CE/CSE, ThinkPad 755CX, ThinkPad 755CV, ThinkPad 755CD, ThinkPad 755CDV | |
|
Machine Type |
9545 | |
|
Model |
Various | |
|
TypeModel |
| |
|
Retain Tip (if applicable) |
N/A | |
|
Reverse Doclinks |