709.978 bytes

Service Hints & Tips

Document ID: GSMH-3DBGXH

TP Dock II - FRU Removals and Replacements

Applicable to: World-Wide

FRU Removals and Replacements:
This section contains information on removals and replacements, and locations. The arrows in the removals and replacements show the direction of movement to remove a field replaceable unit (FRU), or to turn a screw to release the FRU. The arrows are marked in numeric order to show the correct sequence of removal. When other FRUs must be removed before removing the failing FRU, they are listed at the top of the page. Go to the removal procedure for each FRU listed, remove the FRU, and then continue with the removal of the failing FRU.

To replace a FRU, reverse the removal procedure and follow any notes that pertain to replacement. See ¿Locations— for internal cable connections and arrangement information.

CAUTION:
Before removing any FRU, turn off Dock II, remove the computer, unplug all power cords from electrical outlets, then disconnect any interconnecting cables.

CAUTION:
In the U.K., by law, the telephone cable must be connected after or disconnected before the power cord.

Warning:
The main board, adapters, and circuit boards on the drives are sensitive to, and can be damaged by, electrostatic discharge. Establish personal grounding by touching a ground point with one hand before touching these units.

Note:
An electrostatic discharge (ESD) strap must be used to establish personal grounding.

1010 Main Cabinet Group:
Removal
Make sure the security key is in the vertical position1.
2 3

Caution:
Be careful not to damage the volume control knob when removing the main cabinet group.

1020 Audio Card:
Removal
Main Cabinet Group (1010)
Remove all cables from the connectors on the audio card. (Refer to ¿Audio Card— for the location of these connectors.)
1

Step

Color and type (quantity)

Length

1

Pan head screw (2)

6 mm


Diameter: 3 mm (0.12 in.) (0.24 in.)

1030 Power Supply Unit:
Removal
Main Cabinet Group (1010)
Remove all cables from the connectors on the riser card. (Refer to ¿Riser Card— for the location of theseconnectors.)
Remove all cables from the connectors on the main card. (Refer to ¿Main Card— for the location of theseconnectors.)
1 2 3 4 5

Lift up and turn over the power supply assembly then release the cables on the rear of the rack 6. Remove all remaining cables from the connectors on the main card. Turn the power supply assembly to the upright position.
7 8 9 (Do not forget to install the washer on the left screw at replacement in step 9 .)


Step

Color and type (quantity)

Length

2

Pan head screw (1)
Diameter: 3 mm (0.12 in.)

8 mm
(0.31 in.)

Flat head screw (1)
Diameter: 3 mm (0.12 in.)

6 mm
(0.24 in.)

4

Pan head screw (6)
Diameter: 3 mm (0.12 in.)

6 mm
(0.24 in.)

5

Pan head screw (2)
Diameter: 3 mm (0.12 in.)

4 mm
(0.16 in.)

7

Binding head tapping screw (2)
Diameter: 3 mm (0.12 in.)

6 mm
(0.24 in.)

8

Black binding head machine screw (4)
Diameter: 3 mm (0.12 in.)

6 mm
(0.24 in.)

9

Pan head screw (2)
Diameter: 3 mm (0.12 in.)

6 mm
(0.24 in.)


Replacement:

Note:
The intersecting end of the SCSI cable should be inserted into the connector on the riser card. SeeÌ1Ï.

1040 Riser Card:
Removal
Main Cabinet Group (1010)
Audio Card (1020)
Power Supply Unit (1030)
Remove all cables from the connectors on the riser card. (Refer to ¿Riser Card— for the location of these connectors.) 1

Step

Color and type (quantity)

Length

1

Binding head screw (2) Diameter: 3 mm (0.12 in.)

8 mm
(0.24 in.)


1050 Main Card:
Removal

Main Cabinet Group (1010)
Audio Card (1020)
Power Supply Unit (1030)
Riser Card (1040)
Remove all cables from the connectors on the main card. (Refer to ¿Main Card— for the location of these connectors.)
1 2 3 4 (upside down view)
Remove the Guide AT after doing 4.
Widen the end of the main chassis where the PCMCIA slot is located 5 and pull out the main card from the main chassis 6.


Step

Color and type (quantity)

Length

1

Binding head screw (2)
Diameter: 3 mm (0.12 in.)

8 mm
(0.24 in.)

2

Pan head screw (2)
Diameter: 3 mm (0.12 in.)

6 mm
(0.24 in.)

3

Pan head machine screw (2)
Diameter: 2 mm (0.08 in.)

20 mm

(0.79 in.)

4

Pan head screw (1)
Diameter: 3 mm (0.12 in.)

6 mm
(0.24 in.)


1060 Keylock Assembly:
Removal
Main Cabinet Group (1010)
Loosen the ring 1 2 3 4


Step

Color and type (quantity)

Length

4

Pan head machine screw (2)
Diameter: 2.3 mm (0.09 in.)

4 mm

(0.16 in.)


1070 Micro Switch Group:
Removal
Main Cabinet Group (1010)
Power Supply Unit (1030) 1 2 3 4 5 6
Keylock Assembly (1060)


Step

Color and type (quantity)

Length

1

Binding head tapping screw (1)
Diameter: 2.3 mm (0.09 in.)

10 mm

(0.39 in.)


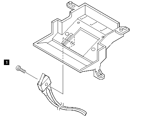
1080 Solenoid Group:
Removal
Main Cabinet Group (1010)
Tray Unit Group (1090)
1 2 3


Step

Color and type (quantity)

Length

2

Binding head tapping screw (2)
Diameter: 3 mm (0.12 in.)

6 mm

(0.24 in.)

3

Binding head tapping screw (2)

Diameter: 3 mm (0.12 in.)

8 mm

(0.31 in.)


1090 Tray Unit Group:
Removal
Main Cabinet Group (1010)
1 2 3

Step

Color and type (quantity)

Length

1

Binding head tapping screw (3)
Diameter: 3 mm (0.12 in.)

8 mm

(0.31 in.)

2

Binding head tapping screw (3)
Diameter: 3 mm (0.12 in.)

8 mm

(0.31 in.)


Replacement:
5 7 2 3 14 6
Main Cabinet Group (1010)

Step

Color and type (quantity)

Length

6

- Binding head tapping screw (3)
- Diameter: 3 mm (0.12 in.)

8 mm
(0.31 in.)

7

- Binding head tapping screw (3)
- Diameter: 3 mm (0.12 in.)

8 mm
(0.31 in.)


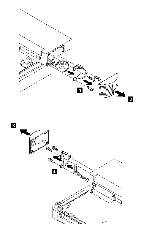
1100 Blank Cover Group:
Removal for AT Card Cover
1 2

Removal for 1-inch Height and Half Height
Main Cabinet Group (1010)
1 2

Removal for LCD Circuit Board Group:
Main Cabinet Group (1010)
1 2

Step

Color and type (quantity)

Length

1

- Binding head screw with washer (3)
- Diameter: 3 mm (0.12 in.)

6 mm
(0.24 in.)


1110 Speaker and Speaker Cover Group:
Removal
Main Cabinet Group (1010)
1 2 3 4

Step

Color and type (quantity)

Length

2

- Binding head tapping screw (4)
- Diameter: 3 mm (0.12 in.)

12 mm
(0.47 in.)

4

- Binding head tapping screw (6)
- Diameter: 2.6 mm (0.10 in.)

8 mm
(0.31 in.)


1120 Cable Group:
Removal
Main Cabinet Group (1010)

1

2

3

4

5

6

Item

Pins

Length

Ends

1

12

460 mm
(1.81 in.)

CS22 - CS1001
(Main Card)
(LCD Card)

4/8

580 mm
(2.28 in.)

CS308 - CS801
(Audio Card)
(Top Cover Conn.)

380 mm
(1.50 in.)

CS58 - CS801
(Riser Card) (Top Cover Conn.)

2

5

230 mm
(0.90 in.)

CS304 - CS21
(Audio Card) (Main Card)

3

4

370 mm
(1.46 in.)

CS301 - CS805
(Audio Card) (CD-ROM)

4

6

600 mm
(2.36 in.)

CS305 - CS310 (Audio Card) (Audio Jack)

5

6

340 mm (1.34 in.)

CS302 - CS23 (Audio Card) (Main Card)

6

6

520 mm
(2.04 in.)

CS303 - CS24
(Audio Card) (Reserved)



Search Keywords

Hint Category

Hardware Maintenance Information

Date Created

14-01-97

Last Updated

10-08-98

Revision Date

07-08-99

Brand

IBM ThinkPad

Product Family

ThinkPad Docking Stations

Machine Type

3546

Model

001

TypeModel

Retain Tip (if applicable)

N/A

Reverse Doclinks
and Admin Purposes