|
20.936 bytes |
Service Hints & Tips |
Document ID: MIGR-47N543 |
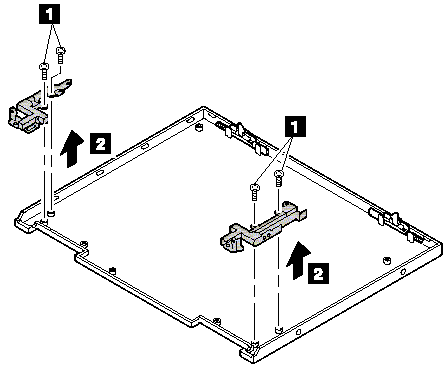
TP 570 - 2040 Hinges removal
Applicable to: World-Wide
The following information is intended for IBM Dealers and Authorized Servicers only. Customers attempting to follow any of the procedures below may void their warranty.
2040 Hinges
13.3-inch XGA TFT LCD:
See 2030 LCD panel
12.1-inch SVGA TFT LCD
|
Step |
Screw (Quantity) |
Color |
Torque |
|
1 |
M2.5 x 3 mm (4) |
Yellow |
4 kgcm |
|
Search Keywords |
| |
|
Document Category |
Hardware Maintenance Information | |
|
Date Created |
07-05-99 | |
|
Last Updated |
06-05-99 | |
|
Revision Date |
17-05-2000 | |
|
Brand |
IBM ThinkPad | |
|
Product Family |
ThinkPad 570 | |
|
Machine Type |
All | |
|
Model |
All | |
|
TypeModel |
| |
|
Retain Tip (if applicable) |
| |
|
Reverse Doclinks |