|
49.099 bytes |
Service Hints & Tips |
Document ID: GSMH-3EQD2E |
TP 365X/XD - 1025 Insulator Sheet
Applicable to: World-Wide
1025 Insulator Sheet:
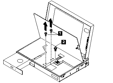
To access items under the keyboard other than the battery pack, first raise the black insulator sheet as shown in the figures.
To access the hard disk drive and DIMM slots, remove the three screws and raise the middle section of the insulator sheet, as shown in the figures.
The location of the screws is different according to the model.
OR
|
Step |
Screw Location (Quantity) |
Length |
|
1 |
Insulator Sheet (2) |
M3 x 3 mm |
|
2 |
HDD Bracket (1) |
M2 x 5 mm |
|
Note: |
|
Search Keywords |
| |
|
Hint Category |
Hardware Maintenance Information | |
|
Date Created |
28-02-97 | |
|
Last Updated |
19-08-98 | |
|
Revision Date |
18-08-99 | |
|
Brand |
IBM ThinkPad | |
|
Product Family |
ThinkPad 365X/XD | |
|
Machine Type |
2625 | |
|
Model |
Various | |
|
TypeModel |
| |
|
Retain Tip (if applicable) |
| |
|
Reverse Doclinks |