|
54.231 bytes |
Parts Information |
Document ID: GSMH-3CMMCB |
|
This document is provided to IBM and our Business Partners to help sell and/or service IBM products. It is not to be distributed beyond that audience or used for any other purpose. |
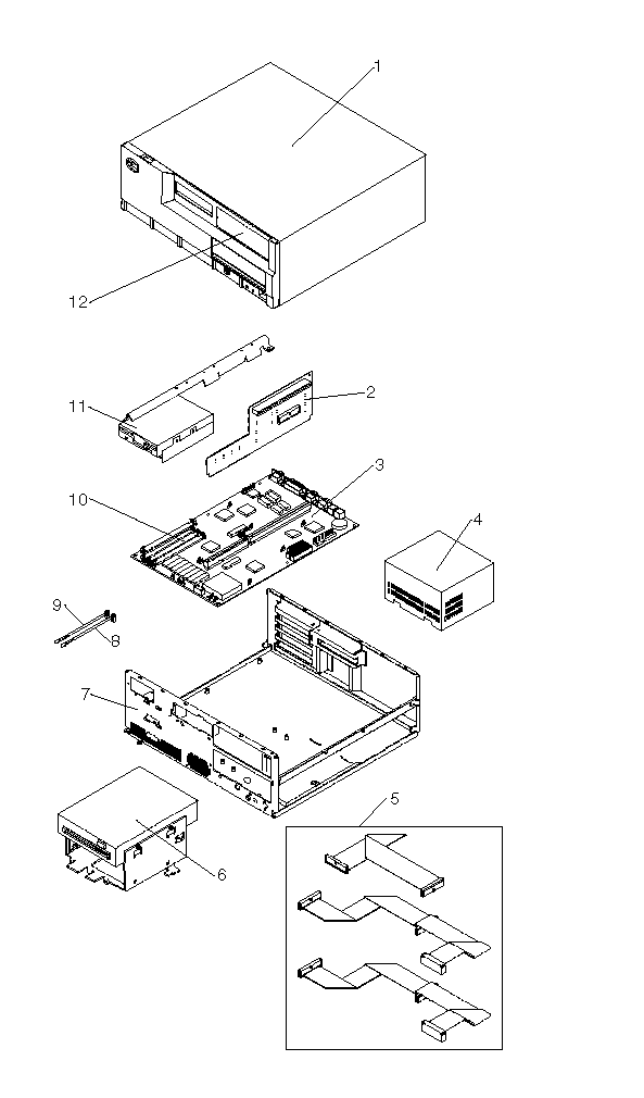
IBM ValuePoint (Type 6482, 6484) - Parts Diagram
Applicable to: World-Wide
6482, 6484 Parts Diagram:

|
Search Keywords |
| |
|
Document Category |
Service Parts | |
|
Date Created |
23-12-96 | |
|
Last Updated |
13-11-98 | |
|
Revision Date |
12-11-99 | |
|
Brand |
IBM PC | |
|
Product Family |
ValuePoint | |
|
Machine Type |
6482, 6484 | |
|
Model |
all | |
|
TypeModel |
| |
|
Retain Tip (if applicable) |
| |
|
Reverse Doclinks |