| 
 48.375 bytes  | 
 
 Parts Information | 
 Document ID: COBN-38YGSB  | 
3517 SCSI Multi-Storage Enclosures - System Parts Listing
Applicable to: World-Wide
| 
 Index  | 
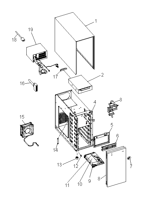
 SCSI Multi-Storage Enclosure (Type 3517)  | |
| 
 1  | 
 Top Cover Assembly  | 
 05H4680  | 
| 
 Screws, Top Cover Assembly (4 each)  | 
 27H2338  | |
| 
 2  | 
 4GB/8GB 4-mm Tape Drive  | 
 16G8454  | 
| 
 Screws, 4-mm Tape Drive (4 each)  | 
 27H2338  | |
| 
 3  | 
 SCSI Cable Assembly, Internal  | 
 05H4827  | 
| 
 Screw-locks, SCSI Cable (2 each)  | 
 27H0863  | |
| 
 Cable Tie  | 
 1159519  | |
| 
 4  | 
 Backplane Assembly (with 5-bay, hot-swap cage)  | 
 26H9180  | 
| 
 Screws, Backplane Assembly (8 each)  | 
 27H0840  | |
| 
 5  | 
 Control Panel Assembly  | 
 26H9191  | 
| 
 6  | 
 Blank Media-Bay Panel  | 
 06H2187  | 
| 
 7  | 
 IBM Logo  | 
 44H7627  | 
| 
 8  | 
 Front Cover Assembly  | 
 26H9206  | 
| 
 9  | 
 16-Bit Power Carrier, Hot-Swap Hard Disk Drive  | 
 06H7362  | 
| 
 Screws, Hot-Swap Hard Disk Drive to Carrier (4 each)  | 
 1147429  | |
| 
 10  | 
 16-Bit 1.1GB Hot-Swap Hard Disk Drive  | 
 06H8560  | 
| 
 16-Bit 2.2GB Hot-Swap Hard Disk Drive  | 
 06H8561  | |
| 
 16-Bit 4.5GB Hot-Swap Hard Disk Drive  | 
 06H8563  | |
| 
 11  | 
 Cable,16-Bit Address,Disk Drive to Carrier  | 
 06H7691  | 
| 
 12  | 
 Latch  | 
 26H9207  | 
| 
 13  | 
 Feet (4 each)  | 
 26H9234  | 
| 
 Screws, Feet (4 each)  | 
 49G5445  | |
| 
 14  | 
 Blank SCSI Panel  | 
 27H0862  | 
| 
 Screws, Blank SCSI Panel (2 each)  | 
 27H2338  | |
| 
 15  | 
 Fan Assembly, includes Isolators and Finger Guard  | 
 27H0922  | 
| 
 Cable Tie  | 
 1159519  | |
| 
 16  | 
 SCSI Fast/Wide 1X Cable  | 
 06H3231  | 
| 
 SCSI Wide 1X Cable  | 
 70G9857  | |
| 
 17  | 
 Interposer, 2 x 25 to 68 Pin  | 
 92F0324  | 
| 
 18  | 
 Power Cord  | 
 26H9205  | 
| 
 19  | 
 Power Supply  | |
| 
 Screws, Power Supply (4 each)  | 
 34H8186  | |
| 
 Screws, Power Switch (2 each)  | 
 34H8186  | |
| 
 Cable Tie  | 
 1159519  | |
| 
 Media Kit, 4GB/8GB 4-mm Tape Drive  | 
 8191149  | |
| 
 4GB/8GB 4-mm Tape Drive Data Cartridge (8191160)  | ||
| 
 4GB 4-mm Tape Drive Diagnostic Cartridge (8191146)  | ||
| 
 4-mm Tape Drive Cleaning Cartridge (21F8763)  | 
| 
 Search Keywords  | 
 | |
| 
 Document Category  | 
 Service Parts  | |
| 
 Date Created  | 
 26-08-96  | |
| 
 Last Updated  | 
 24-03-99  | |
| 
 Revision Date  | 
 24-03-2000  | |
| 
 Brand  | 
 IBM PC Server  | |
| 
 Product Family  | 
 Rack/Storage Enclosures  | |
| 
 Machine Type  | 
 3517  | |
| 
 Model  | 
 | |
| 
 TypeModel  | 
 | |
| 
 Retain Tip (if applicable)  | 
 | |
| 
 Reverse Doclinks  |