|
30.336 bytes |
Service Hints & Tips |
Document ID: GSMH-3BTE9D |
TP 701C/CS - System board bottom view
Applicable to: World-Wide
Bottom View Locations:
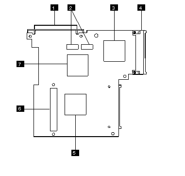
Bottom System Board (Top View):
1. System Expansion Connector
2. LCD Connectors
3. PCMCIA Controller
4. PCMCIA Slots
5. System Controller
6. Board-to-Board Connector
7. Video Controller
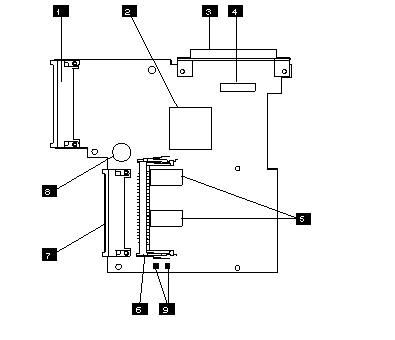
Bottom System Board (Bottom View):
|
1 |
PCMCIA Connector |
|
2 |
Processor |
|
3 |
System Expansion Connector |
|
4 |
Modem Connector |
|
5 |
Random Access Memory |
|
6 |
SO-DIMM Connector |
|
7 |
Hard Disk Drive Connector |
|
8 |
RTC Battery |
|
9 |
Power-On Password Bypass Pads |

|
Search Keywords |
| |
|
Hint Category |
Hardware Maintenance Information | |
|
Date Created |
27-11-96 | |
|
Last Updated |
19-08-98 | |
|
Revision Date |
18-08-99 | |
|
Brand |
IBM ThinkPad | |
|
Product Family |
ThinkPad 701 | |
|
Machine Type |
2630 | |
|
Model |
Various | |
|
TypeModel |
| |
|
Retain Tip (if applicable) |
N/A | |
|
Reverse Doclinks |