| 
 55.233 bytes  | 
 
 Parts Information | 
 Document ID: GSMH-3AFL2G  | 
IBM PC100/PC140 - Parts diagram/FRU listing
Applicable to: World-Wide
Parts Listing:
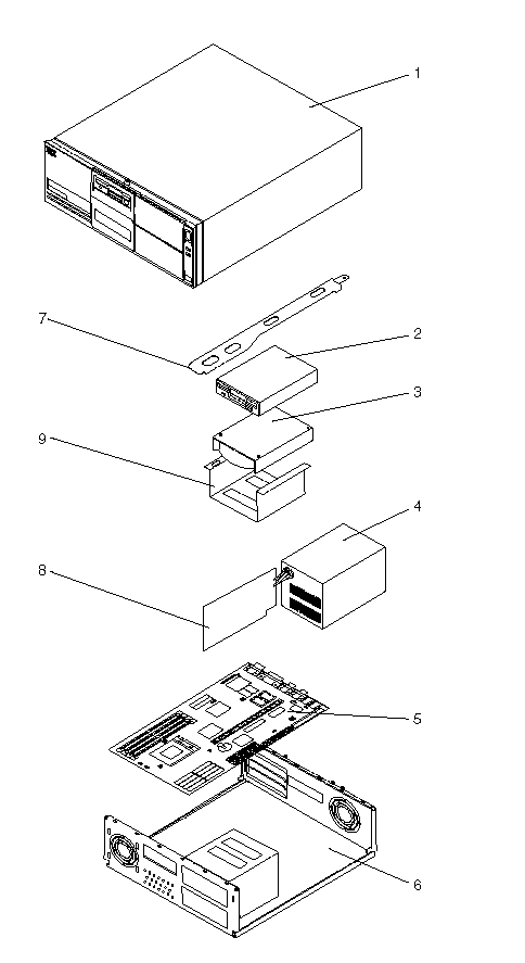
Diagram, PC140 (Type 6260):
Index   System Unit (Type 62XX)
| 
 1  | 
 Top Cover and Logo  | 
 P/N  | 
| 
 Top Cover, including front bezel 4x4 (6260)  | 
 75H7956  | |
| 
 Label Plate - Personal Computer 100 (6260)  | 
 75H7980  | |
| 
 Bezel Covers Kit (6260)  | 
 75H7958  | |
| 
 Top Cover 3x3 with Labels (6271)  | 
 06H5722  | |
| 
 Top Cover 5x5 with Labels (6281)  | 
 06H1771  | |
| 
 IBM Logo (6271, 6281)  | 
 06H5723  | |
| 
 2  | 
 Diskette Drives and Cables  | |
| 
 3.5" 1.44 MB Diskette Drive  | 
 93F2361  | |
| 
 3.5" 2.88 MB Diskette Drive  | 
 82G1887  | |
| 
 5.25" 1.2 MB Diskette Drive  | 
 82G1824  | |
| 
 Diskette Drive Cable 4x4 (6260)  | 
 06H6325  | |
| 
 Diskette Drive Cable 3x3 (6271)  | 
 06H6344  | |
| 
 Diskette Drive Cable 5x5 (6281)  | 
 92F0423  | |
| 
 3  | 
 Hard Disk Drives and Cables  | |
| 
 170 MB Hard Disk Drive (6271, 6281)  | 
 71G4958  | |
| 
 270 MB Hard Disk Drive (6271, 6281)  | 
 06H4152  | |
| 
 364 MB Hard Disk Drive (6271, 6281)  | 
 82G5927  | |
| 
 540 MB Hard Disk Drive (6271, 6281)  | 
 82G5928  | |
| 
 635 MB Hard Disk Drive (6260)  | 
 06H9063  | |
| 
 728 MB Hard Disk Drive (6271, 6281)  | 
 82G5929  | |
| 
 850 MB Hard Disk Drive (6260)  | 
 06H8419  | |
| 
 1 GB Hard Disk Drive (6271, 6281)  | 
 06H6111  | |
| 
 Hard Disk Drive Cable  | 
 06H6326  | |
| 
 Hard Disk Drive LED and Cable (6260)  | 
 07H1444  | |
| 
 Hard Disk Drive LED and Cable (6271, 6281)  | 
 93F2388  | |
| 
 4  | 
 Power Supplies  | |
| 
 145 Watt Power Supply 4x4 (6260)  | 
 07H1441  | |
| 
 145 Watt Power Supply 3x3 (6271)  | 
 06H2972  | |
| 
 210 Watt Power Supply 5x5 (6281)  | 
 06H2967  | |
| 
 5  | 
  System Board  | |
| 
 System Board (6260)  | 
 12H0891  | |
| 
 System Board (6271, 6281)  | 
 96G1819  | |
| 
 Processors  | ||
| 
 P54C-75 (6260)  | 
 07H1445  | |
| 
 P54C-100 (6260)  | 
 07H1446  | |
| 
 486DX2-33/66 (6271, 6281)  | 
 71G0795  | |
| 
 486DX4-100 with regulator (6271, 6281)  | 
 42H0380  | |
| 
 72-Pin Memory (Non-parity)  | ||
| 
 4 MB Non-parity (6260)  | 
 07H1450  | |
| 
 8 MB Non-parity (6260)  | 
 07H1447  | |
| 
 16 MB Non-parity (6260)  | 
 07H1448  | |
| 
 4 MB Non-parity (6271, 6281)  | 
 92G7540  | |
| 
 8 MB Non-parity (6271, 6281)  | 
 92G7542  | |
| 
 16 MB Non-parity (6271, 6281)  | 
 92G7544  | |
| 
 32 MB Non-parity (6271, 6281)  | 
 92G7546  | |
| 
 L2 Cache  | ||
| 
 128 KB (6271, 6281)  | 
 06H4759  | |
| 
 256 KB (6271, 6281)  | 
 06H4760  | |
| 
 6  | 
 Base Assembly  | |
| 
 Base Assembly 4x4 (6260)  | 
 75H7957  | |
| 
 Foot 4 each 4x4 (6260)  | 
 07H1440  | |
| 
 Base Assembly 3x3 (6271)  | 
 06H5728  | |
| 
 Foot 4 each 3x3 (6271)  | 
 10H3080  | |
| 
 Base Assembly 5x5 (6281)  | 
 06H1772  | |
| 
 Foot 4 each 5x5 (6281)  | 
 06H1773  | |
| 
 LED and Power Cable  | 
 93F2389  | |
| 
 Blank Bezel with/without Audio 3x3 (6271)  | 
 06H6992  | |
| 
 Blank Bezel with/without Audio 5x5 (6281)  | 
 06H1774  | |
| 
 Blank Bezel Holder 3x3 (6271)  | 
 06H5740  | |
| 
 Blank Bezel PCMCIA 3x3 (6271)  | 
 06H5741  | |
| 
 Blank Bezel PCMCIA 5x5 (6281)  | 
 06H1784  | |
| 
 Blank Drive Bezel 3.5" 3x3 (6271)  | 
 06H5739  | |
| 
 Blank Drive Bezel 5.25"  | 
 06H5738  | |
| 
 Cover Latch 3x3 (6271)  | 
 06H5736  | |
| 
 Cover Latch 5x5 (6281)  | 
 06H1783  | |
| 
 Cover Lock Assembly 3x3 (6271)  | 
 06H6994  | |
| 
 Cover Lock Assembly 5x5 (6281)  | 
 06H1776  | |
| 
 EMC Clips 6 each  | 
 06H5734  | |
| 
 EMC Shield 4 each 3x3 (6271)  | 
 06H5747  | |
| 
 EMC Shield 4 each 5x5 (6281)  | 
 06H1782  | |
| 
 Fan Assembly (80MM)  | 
 06H1796  | |
| 
 Floor Stand Assembly  | 
 06H1792  | |
| 
 Lithium Battery (See page /CTB/)  | 
 33F8354  | |
| 
 PCMCIA Bracket 3x3 (6271)  | 
 82G4982  | |
| 
 PCMCIA Bracket 5x5 (6281)  | 
 06H1790  | |
| 
 PCMCIA Card Assembly ISA  | 
 81G4632  | |
| 
 PCMCIA Bay Assembly  | 
 81G4633  | |
| 
 Power Button 4x4 (6260)  | 
 75H7979  | |
| 
 Power Button 3x3 (6271)  | 
 06H5724  | |
| 
 Power Button 5x5 (6281)  | 
 06H1777  | |
| 
 Power Switch and Cable  | 
 60G2258  | |
| 
 Rear Decorative Panel 3x3 (6271)  | 
 10H2925  | |
| 
 Rear Decorative Panel 5x5 (6281)  | 
 06H1785  | |
| 
 Rear I/O Panel ISA 3x3 (6271)  | 
 06H5744  | |
| 
 Rear I/O Panel ISA 5x5 (6281)  | 
 06H1786  | |
| 
 Ball and Clip (Twist-off)  | 
 06H4585  | |
| 
 Jumper Kit  | 
 93F0067  | |
| 
 Mouse  | 
 06H4595  | |
| 
 Mounting Screws  | 
 93F0041  | |
| 
 7  | 
 Card Guides  | |
| 
 Riser Card Support Bracket (6260)  | 
 76H1788  | |
| 
 Card Guide PCMCIA 3x3 (6271)  | 
 06H5731  | |
| 
 Card Guide ISA 3x3 (6271)  | 
 06H5730  | |
| 
 Card Guide ISA 5x5 (6281)  | 
 06H1779  | |
| 
 8  | 
 Riser Cards  | |
| 
 4x4 PCI/ISA (6260)  | 
 12H0897  | |
| 
 3x3 ISA/VESA (6271)  | 
 88G4250  | |
| 
 5x5 ISA/VESA (6281)  | 
 88G4260  | |
| 
 9  | 
 Removable DASD Tray 4x4 (6260)  | 
 76H1789  | 
| 
 9  | 
 DASD Mounting Tray 3x3 (6271)  | 
 06H5743  | 
| 
 9  | 
 Removable DASD Tray 5x5 (6281)  | 
 06H1780  | 
| 
 10  | 
 Front Bezel with label 3x3 (6271)  | 
 06H6994  | 
| 
 10  | 
 Front Bezel with label 5x5 (6281)  | 
 06H1775  | 
| 
 11  | 
 Non-removal DASD Tray 5x5 (6281)  | 
 06H1781  | 
| 
 Communications  | ||
| 
 FAX/Modem Assembly ISA  | 
 04H5788  | |
| 
 FAX/Modem Cable ISA  | 
 06H6053  | 
| 
 Search Keywords  | 
 | |
| 
 Document Category  | 
 Service Parts  | |
| 
 Date Created  | 
 14-05-96  | |
| 
 Last Updated  | 
 11-11-98  | |
| 
 Revision Date  | 
 11-11-99  | |
| 
 Brand  | 
 IBM PC  | |
| 
 Product Family  | 
 PC 100, PC 140  | |
| 
 Machine Type  | 
 6271, 6281, 6260  | |
| 
 Model  | 
 all  | |
| 
 TypeModel  | 
 | |
| 
 Retain Tip (if applicable)  | 
 N/A  | |
| 
 Reverse Doclinks  |