|
79.092 bytes |
Service Hints & Tips |
Document ID: LWIK-45ZR5R |
TP 560X - TFT (Type 1) LCD FRU parts listing
Applicable to: World-Wide
|
Index |
System Unit | |
|
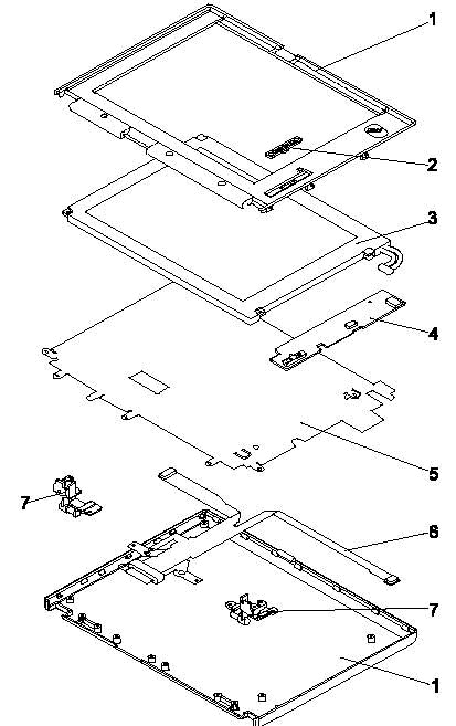
1 |
LCD Cover Set |
05K4602 |
|
2 |
Control Knob |
11J9664 |
|
3 |
LCD Panel |
12J1704 |
|
4 |
Inverter Card |
11J9632 |
|
5 |
Shield Sheet |
46H4165 |
|
6 |
LCD Cable |
12J1705 |
|
7 |
Hinges |
11J9663 |
|
Search Keywords |
| |
|
Document Category |
Service Parts | |
|
Date Created |
15-03-99 | |
|
Last Updated |
25-05-99 | |
|
Revision Date |
26-05-2000 | |
|
Brand |
IBM ThinkPad | |
|
Product Family |
ThinkPad 560X | |
|
Machine Type |
2640 | |
|
Model |
All | |
|
TypeModel |
| |
|
Retain Tip (if applicable) |
| |
|
Reverse Doclinks |