|
18.113 bytes |
Service Hints & Tips |
Document ID: RMIE-3DTJA5 |
TP 760C/CD/L/LD/E/ED/EL/ELD - Passwords
Applicable to: World-Wide
Passwords :
How to Disable the Power-On Password :
1. Power-off the computer.
2. Open the keyboard, and remove the diskette drive/CD-ROM drive and the battery pack.
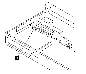
3. Install a jumper on the power-on password connector on the left side of the FDD connector.
1. Power On Password connector
4. Reinstall the battery pack and the diskette drive/CD-ROM drive.
5. Power-on the computer and wait until the POST ends.
6. Verify that the password prompt does not appear.
7. After the service check is completed, remove the jumper.
To reactivate the password, set the password again.
Supervisor and Hard Disk Passwords :
The Supervisor Password and the Hard Disk Password (HDP) are security features that are used to protect the system and the hard disk data from unauthorized access. No overriding capability is provided. If only a hard disk password is set, obtaining permission from the password owner to unlock the password is a prerequisite for running diagnostic tests and performing service. If both supervisor password and hard disk password are set, you can enter Easy-Setup by pressing the Enter key or power-on password at the supervisor password prompt. In this case, the Password, Start up , and Initialize icons cannot be selected.
|
Search Keywords |
| |
|
Hint Category |
Hardware Maintenance Information | |
|
Date Created |
31-07-96 | |
|
Last Updated |
19-08-98 | |
|
Revision Date |
18-08-99 | |
|
Brand |
IBM ThinkPad | |
|
Product Family |
ThinkPad 760C, ThinkPad 760E, ThinkPad 760CD, ThinkPad 760L/LD, ThinkPad 760ED, ThinkPad 760XD, ThinkPad 760EL/ELD, ThinkPad 760XL, ThinkPad 765L, ThinkPad 765D | |
|
Machine Type |
9546, 9547 | |
|
Model |
Various | |
|
TypeModel |
| |
|
Retain Tip (if applicable) |
| |
|
Reverse Doclinks |