|
63.509 bytes |
Service Hints & Tips |
Document ID: COBN-3G5D4E |
Aptiva - 2162 System board layout and locations
Applicable to: World-Wide
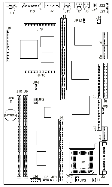
System Board Layout
System Board Locations
|
J1 |
Fan +12 V dc connector |
|
J2 |
USB (Universal Serial Bus) |
|
J3 |
System board voltage regulator connector |
|
J4 |
Cache connector |
|
J5 |
Primary Hard Disk IDE (Hard Disk 1, Hard Disk 2) |
|
J6 |
Secondary Hard Disk IDE (Hard Disk 3 or CD-ROM, Hard Disk 4) |
|
J7 |
Mouse connector |
|
J8 |
Keyboard connector |
|
J9 |
DIMM 168-pin Socket |
|
J10 |
DIMM 168-pin Socket |
|
J13 |
Riser ConnectorªPCI/ISA |
|
J14 |
External speaker power connector |
|
J15 |
Serial Port connector |
|
J16 |
Parallel Port connector |
|
J17 |
Diskette drive connector |
|
J19 |
VESA feature connector |
|
J21 |
Monitor signal connector |
|
J22 |
Power Supply 2-pin connector (On/off switch) |
|
J23 |
Power Supply 3-pin connector (Aux 5 V dc) |
|
J24 |
Wake Up On Ring connector |
|
J25 |
HDD/Power-on LED connector (HDD: 1-2, Power- |
|
J26 |
Media console connector - not used |
|
JP1 |
External speaker (Internal: 1-2, External: 2-4) |
|
JP2 |
System board bus clock (see Figure 5-2 on page 5-4) |
|
JP3 |
Core/Bus frequency ratio (see Figure 5-4 on page 5-5) |
|
JP4 |
System board flash jumper (Normal: 1-2, Write protect: 2 |
|
JP5 |
Diskette Drive (FDD) write enable (Enable: 1-2, Disable: |
|
JP6 |
CMOS, Power-on Password Reset (Normal: 1-2, Clear: 2-3) |
|
JP9 |
Video memory upgrade card connector |
|
JP10 |
Video memory upgrade card connector |
|
JP12 |
Home Director (Home Director: 1-2, Wakeup On Ring over Serial Port only: 2-3) |
|
P1,P2 |
Power supply connector |
|
P11 |
3.3 V dc Power supply connector |
|
U2 |
Processor |
|
Search Keywords |
| |
|
Hint Category |
Hardware Installation/Configuration, Jumper/Switch Settings, System Boards | |
|
Date Created |
14-04-97 | |
|
Last Updated |
11-03-99 | |
|
Revision Date |
11-03-2000 | |
|
Brand |
IBM Aptiva | |
|
Product Family |
Aptiva | |
|
Machine Type |
2162 | |
|
Model |
| |
|
TypeModel |
| |
|
Retain Tip (if applicable) |
| |
|
Reverse Doclinks |