|
19.453 bytes |
Parts Information |
Document ID: RMIE-3AQJXJ |
PC Server 720 - Cable Parts Information
Applicable to: World-Wide
Cables (Type 8642)
Index Cables (Type 8642)
|
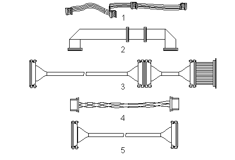
1. |
System Status Cable (1X4) |
82G3617 |
|
2. |
Diskette Drive (3X) Signal Cable (with power) |
06H3405 |
|
3. |
MCA SCSI Controller to Backplane Cable |
82G3613 |
|
MCA SCSI Controller to Backplane Cable Bottom to Backplane to CD ROM Terminator Cable (all Systems) |
06H6876
06H3751 | |
|
4. |
Hard Disk Drive Power Cable (for 1 drive) |
82G3610 |
|
SCSI-Fast/Wide ID Select Cable |
06H3957 | |
|
5. |
SCSI-Fast/Wide Cable Flex (for 1 drive) |
06H6145 |
|
C2 Cable (with Switch) |
82G3612 | |
|
Fan Cable Assembly |
06H7870 | |
|
Information Display Cable (2X13) |
06H8679 | |
|
Dual Serial Cable Assembly |
06H7868 |
Options (Type 8642)
|
4mm DAT Autoloader |
06H7541 |
|
16MB ECC Memory SIMM |
06H7761 |
|
32MB ECC Memory SIMM |
06H7762 |
|
220-Watt Power Supply Assembly |
06H3237 |
|
C2 Cable Cover |
71G6290 |
|
Cable Cover Thumbscrew |
61G3842 |
|
DASD Hot-Swap Tray Assembly (Narrow) |
71G6292 |
|
P54C-100/66MHz Processor Card |
71G0692 |
|
Eithernet PeerMaster Quad-BT Adapter (with twisted- pair cable connector) |
06H4220 |
|
Eithernet PeerMaster Quad-B2 Adapter (with coax cable connector) |
06H6042 |
|
SCSI PCI Option CD-to-Backplane Cable |
06H6876 |
|
SCSI Backplane to CD-ROM Terminator Cable |
06H3751 |
|
RAID Controller to Backplane Cable |
82G3613 |
|
Search Keywords |
| |
|
Document Category |
Cables | |
|
Date Created |
20-08-96 | |
|
Last Updated |
24-03-99 | |
|
Revision Date |
24-03-2000 | |
|
Brand |
IBM PC Server | |
|
Product Family |
PC Server 720 | |
|
Machine Type |
8642 | |
|
Model |
| |
|
TypeModel |
| |
|
Retain Tip (if applicable) |
| |
|
Reverse Doclinks |