|
154.008 bytes |
Service Hints & Tips |
Document ID: DETR-3ZNQYD |
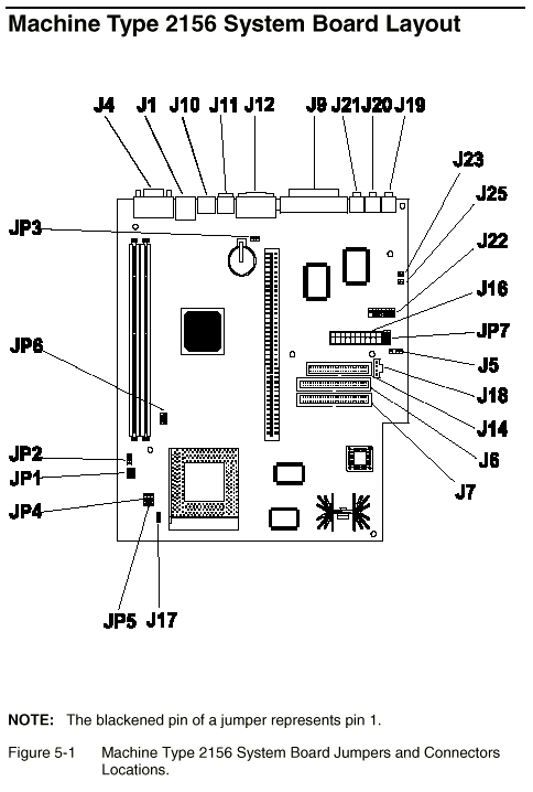
Aptiva - 2156-D1x system board layout and locations
Applicable to: Japan, United States

|
Search Keywords |
| |
|
Hint Category |
Jumper/Switch Settings, System Boards | |
|
Date Created |
27-10-98 | |
|
Last Updated |
19-02-99 | |
|
Revision Date |
19-02-2000 | |
|
Brand |
IBM Aptiva | |
|
Product Family |
Aptiva | |
|
Machine Type |
2156 | |
|
Model |
D1N; D1J | |
|
TypeModel |
| |
|
Retain Tip (if applicable) |
| |
|
Reverse Doclinks |