|
72.993 bytes |
Service Hints & Tips |
Document ID: LWIK-3PCNGQ |
|
This document is provided to IBM and our Business Partners to help sell and/or service IBM products. It is not to be distributed beyond that audience or used for any other purpose. |
TP 560/E - 1040 Frame
Applicable to: World-Wide
1040 Frame:
Battery Pack (1030)
|
Step |
Length (Quantity) |
Torque |
|
1 |
12 mm, nylon coating (2) |
4.0 kgcm |
|
2 |
7 mm, nylon coating (6) |
4.0 kgcm |
|
Note: |
Do not use the screw that you have removed. |
|
Use a new screw and tighten the screw to the torque specification shown. |
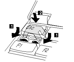
Note:
Be careful not to remove the Esc key when you remove the frame. If Esc key is removed, replace the key as shown.
When replacing the frame, check whether the click buttons of the TrackPoint III can be pressed correctly.
If the frame is not in place, the click buttons will not work.
|
Search Keywords |
| |
|
Hint Category |
Hardware Maintenance Information | |
|
Date Created |
01-12-97 | |
|
Last Updated |
07-04-98 | |
|
Revision Date |
16-03-99 | |
|
Brand |
IBM ThinkPad | |
|
Product Family |
ThinkPad 560, ThinkPad 560E | |
|
Machine Type |
2640 | |
|
Model |
Various | |
|
TypeModel |
| |
|
Retain Tip (if applicable) |
| |
|
Reverse Doclinks |