|
38.216 bytes |
Parts Information |
Document ID: GSMH-3BVDPT |
|
This document is provided to IBM and our Business Partners to help sell and/or service IBM products. It is not to be distributed beyond that audience or used for any other purpose. |
TP 340 - Parts Listing
Applicable to: World-Wide
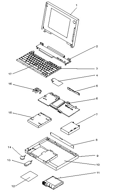
Parts Listing:
System Unit Models 340 and 340CSE:
|
Index |
Description |
Part Number |
|
1 |
LCD Assembly (340) |
84G6678 |
|
1 |
LCD Assembly (340CSE) | |
|
9.4-inch |
85G7601 | |
|
10.4-inch |
85G7602 | |
|
2 |
Top Cover (340) |
84G6677 |
|
2 |
Top Cover (340CSE) |
85G7600 |
|
3 |
Keyboard Assembly | |
|
4 |
Modem/Fax Card (2400 bps.) |
84G5917 |
|
5 |
Indicator Card |
84G6662 |
|
6 |
System Board (340) |
84G6661 |
|
6 |
System Board (25/50MHz) | |
|
With modem connector |
85G7595 | |
|
Without modem connector |
85G7596 | |
|
6 |
System Board (33/66MHz) Without modem connector |
85G7598 |
|
7 |
125MB Hard Disk Drive |
84G6663 |
|
200MB Hard Disk Drive |
85G7606 | |
|
360MB Hard Disk Drive |
85G7608 | |
|
8 |
Rear Connector Cover |
84G6676 |
|
9 |
Base Cover Assembly (340) |
84G6656 |
|
For U.S. |
84G6890 | |
|
For Japan |
84G6659 | |
|
Base Cover Assembly (340CSE) |
85G7612 | |
|
For U.S., Japan Note: |
85G7611 | |
|
10 |
Shield Case |
84G6660 |
|
11 |
Battery Pack (Nickel Cadmium) |
84G6672 |
|
For U.S. |
84G6671 | |
|
For Japan |
84G6674 | |
|
11 |
Battery Pack (Nickel Metal Hydride) |
85G7604 |
|
12 |
Accessory Cover |
84G6675 |
|
13 |
Standby Battery |
84G6668 |
|
For U.S. |
84G6667 | |
|
For Japan |
84G6670 | |
|
14 |
Backup Battery |
84G6666 |
|
Screw Kit (Includes the following) 0-2.5 x 4 mm; 10-2.5 x 6 mm |
84G6764 |
DASD:
|
Index |
Description |
Part Number: |
|
15 |
Diskette Drive (2-mode) |
84G6664 |
|
Diskette Drive (3-mode) |
84G6665 | |
|
16 |
Speaker (360CSE) |
85G7643 |
|
17 |
TrackPoint II Cap |
66G6444 |
|
17 |
TrackPoint III Cap | |
|
Shield Plate (340) |
84G6774 | |
|
AC Adapter |
84G6679 | |
|
For Japan |
84G6738 | |
|
AC Adapter (small, 35W) |
85G4952 | |
|
For Japan |
85G6669 | |
|
DC Plug |
85G6664 | |
|
IC DRAM Card (See options) |
Keyboards:
|
Arabic |
84G6881 |
|
Belgium |
84G6879 |
|
Canadian French |
84G6887 |
|
Danish |
84G6878 |
|
Dutch |
84G6876 |
|
Finnish, Swedish |
84G6875 |
|
French |
84G6872 |
|
German (Black) |
84G6870 |
|
Greek |
84G6885 |
|
Hebrew |
84G6882 |
|
Italian |
84G6874 |
|
Japanese |
84G6888 |
|
Latin Spanish |
84G6886 |
|
Norwegian |
84G6880 |
|
Portuguese |
84G6883 |
|
Spanish |
84G6877 |
|
Swiss, French |
84G6873 |
|
Swiss, German |
84G6871 |
|
Turkish |
84G6884 |
|
U.K. English |
84G6869 |
|
U.S. English |
84G6868 |
|
Search Keywords |
| |
|
Document Category |
Hardware Maintenance Manuals | |
|
Date Created |
29-11-96 | |
|
Last Updated |
13-01-99 | |
|
Revision Date |
13-01-2000 | |
|
Brand |
IBM ThinkPad | |
|
Product Family |
ThinkPad 340 | |
|
Machine Type |
2610 | |
|
Model |
Various | |
|
TypeModel |
| |
|
Retain Tip (if applicable) |
N/A | |
|
Reverse Doclinks |