58.233 bytes

Service Hints & Tips

Document ID: GSMH-3BFL5K

TP 755CD/CDV - Power System Checkout

Applicable to: World-Wide

Power Systems Checkout:
To verify the symptom of the problem, power-on the computer using each of the power sources as follows.
1. Remove the battery pack, diskette drive, and hard disk drive.
2. Connect the AC Adapter and check that power is supplied.
3. Install the diskette drive, or hard disk drive one ata time and check that power is supplied from each power source.
4. Disconnect the AC Adapter, remove the hard disk and diskette drive, and install the charged battery pack; then check that power is supplied by battery pack.

If you suspect a power problem, see the appropriate power supply check listed below.
- Checking the AC Adapter.
- Checking Operational Charging.
- Checking the Battery Pack.
- Checking the Car-Battery Adapter.
- Checking the Backup Battery.
- Checking the Standby Battery.
- Port Replicator Power Overload.

Checking the AC Adapter:
You are here because the computer fails only when the AC Adapter is used.
- If the power problem occurs only when the port replicator is used, replace the replicator.
- If the power-on indicator does not turn on, check the power cord of the AC Adapter for correct continuity and installation.
- If the operational charge does not work, go to "Checking Operational Charging".

Note:
There are several types of adapters. The procedure for checking both types is the same.

1. Unplug the AC Adapter cable from the computer and measure the output voltage at the plug of the AC Adapter cable. See the following figure.

AC Adapter (40W):

Pin

Voltage (V dc)

1

+ 18.0 to + 21.0

2

Ground


AC Adapter (35W)

Pin

Voltage (V dc)

1

+ 16.0+ 1.0/- 0.5

2

Ground


- If the voltage is correct, replace the system board. If the problem is not corrected, go to "Undetermined Problems".
- If the voltage is not correct, go to the next step.
2. Unplug the AC Adapter cable from the ac power outlet and wait five minutes or longer to allow the over voltage protection circuit to be fully discharged and initialized.
3. Plug the AC Adapter cable into the ac power outlet.
4. Measure the output voltage of the AC Adapter.
5. If the voltage is still not correct, replace the AC Adapter.

Note:
An audible noise from the AC Adapter does not always indicate a defective adapter.

Checking Operational Charging:
To check operational charging, use a discharged battery pack or a battery pack that shows a yellow or orange battery status indicator when it installed in the computer.

Perform operational charging. If the battery status indicator turns orange and the battery charging indicator turns green within two minutes, replace the AC Adapter.

Checking the Battery Pack:
Battery charging will not start until the Fuel-Gauge shows that less than 90% of the total power remains; with this condition the battery pack will charge to 100% of its capacity. This protects the battery pack from being over-charged or having a shortened life.

Before you do the following steps, check the following:
- The correct battery pack is used for the model.
- The storage switch set to on (|).

1. Power-off the computer.
2. Remove the battery pack and measure the voltage between battery terminals1 (+ ) and 4 (- ). See the following figure.

Ni-MH Battery Pack:

Terminal

Voltage (V dc) / Signal

1

+ 8.0 to + 16.0

2

Send

3

Thermal

4

Ground(-)

5

NC

6

NC

7

NC


Li-ion Battery Pack:

Note:
Li-ion battery is optional for Model 755CDV.

Terminal

Voltage (V dc) / Signal

1

+ 8.0 to + 13.0

2

Send

3

Thermal

4

Ground(-)

5

R1


Note:
Signal lines, not used in these steps, are used for communication between the system and the battery. The storage switch is used to control the power to the internal microprocessor of the battery. The storage switch should be set to off (0) only when the battery is going to be kept in storage for more than two months.

3. If the voltage is less than+ 8.0V dc, the battery pack has been discharged or is defective. Recharge the battery. If the recharging does not work, go to Step 5 check the charging circuit. If the voltage is still less than+ 8.0 V dc after the recharging, replace the battery.
4. If the voltage is more than+ 8.0V dc, measure the resistance between battery terminals 3 and 4. The resistance must be 4 to 30 K ohm. If the resistance is not correct, replace the battery pack.

If the resistance is correct, replace the DC/DC card.
5. To check the charging circuit, do the following. Plug in the AC Adapter with the battery pack removed, then power-on the computer.
6. Measure the charging voltage between DC/DC terminals1(+) and4(- ).
7. If the voltage is less then+ 9.0V dc, replace the DC/DC card. If the voltage is more than+ 9.0 V dc, the charging circuit is working correctly, replace the battery pack.

Checking the Car-Battery Adapter:

Note:
There are several types of adapters but the checkout procedure is the same for both of them.
1. Unplug the Car-Battery Adapter cable from the computer.
2. Plug the Car-Battery Adapter into the cigarette lighter socket.

Note:
If the adapter is already plugged in, reseat it.
3. Measure the output voltage of the Car-Battery Adapter cable. See the following figure.

Pin

Voltage (V dc)

1

+ 19.0 to + 21.0

2,3

Ground



If the voltage is correct and the power-on indicator on the Car-Battery Adapter is on all the time, the Car-Battery is working correctly. Replace the system board.

If the problem is not resolved when the system board is replaced, go to "Undetermined Problems".
If the voltage is outside the normal voltage range, do one of the following:
Try the above test procedures in a different car, if one is available.
Replace the Car-Battery Adapter if the computer works correctly with the AC Adapter.

Note:
If the output voltage from the cigarette lighter socket of the car is less than 10.5 V dc, a continuous noise can be heard. The condition of the car battery should be checked by appropriate service personal.

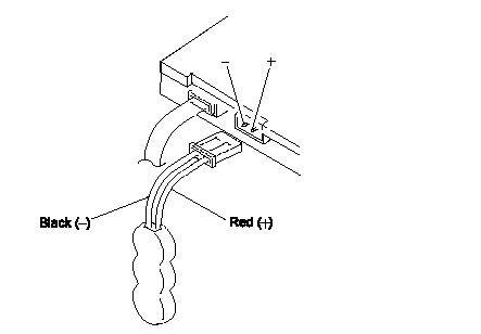
Checking the Backup Battery:
1. Power-off the computer and unplug the AC Adapter from the computer.
2. Open the keyboard, and remove the battery pack.
3. Remove the backup battery from the shield assembly.
4. Measure the voltage of the backup battery. See the following figure.

Wire

Voltage (V dc)

Red

+ 2.5 to+ 3.7

Black

Ground


If the voltage is correct, replace the system board. If the voltage is not correct, the backup battery has been discharged. Replace the backup battery. If the backup battery discharges quickly after replacement, replace the system board.

Checking the Standby Battery:
1. Power-off the computer and unplug the AC Adapter from the computer.
2. Open the keyboard, and remove the battery pack and the diskette drive.
3. Remove the standby battery. (Refer to "2100 Standby Battery and Front IR" to remove the battery.)
4. Measure the voltage of the standby battery.
If the voltage between red and black is 3.5 V dc or greater, the voltage is correct. Go to Step 10 to verify standby battery operation. If the voltage is less than 3.5 V dc, go to the next step.
5. Plug the AC Adapter into the computer and power-on the computer.
6. Measure the output voltage at the connector on the system board.

Pin

Voltage (V dc)

+

+ 4.0

-

Ground


If the voltage is less than+ 4.0 V dc, replace the DC/DC card. If the voltage is still low, replace the system board. If the voltage is more than+ 4.0 V dc, power-off the computer, replace the standby battery, and go to the next step.
7. Ensure that the AC Adapter is plugged into the computer; then power-on the computer.
8. Charging of the standby battery starts.A depleted battery needs approximately 30 minutes to be recharged to the operational voltage of+ 3.5 V dc.
9. Unplug the AC Adapter.
10. Verify the standby battery function by removing and installing the battery pack during suspend mode.

Note:
Removing and installing the battery pack during suspend mode should be done within one minute. The resume operation must start. If the resume operation does not work, switching of power from the battery pack to standby battery will not be correct. Replace the DC/DC card. If replacing the DC/DC card does not resolve the problem, replace the system board.

Search Keywords

Hint Category

Hardware Maintenance Information

Date Created

15-11-96

Last Updated

19-08-98

Revision Date

18-08-99

Brand

IBM ThinkPad

Product Family

ThinkPad 755CD, ThinkPad 755CDV

Machine Type

9545

Model

Various

TypeModel

Retain Tip (if applicable)

N/A

Reverse Doclinks
and Admin Purposes