|
45.990 bytes |
Service Hints & Tips |
Document ID: GSMH-3BUEK8 |
|
This document is provided to IBM and our Business Partners to help sell and/or service IBM products. It is not to be distributed beyond that audience or used for any other purpose. |
TP 340 - Power System Checkout
Applicable to: World-Wide
Power Systems Checkout:
To verify the symptom of the problem, power-on the computer using each of the power sources available as follows.
1. Remove the battery pack.
2. Connect the AC Adapter and check that power is supplied.
3. Disconnect the AC Adapter and install the charged battery pack; then check that power is supplied by battery pack.
below.
- ¿Checking the AC Adapter—.
- ¿Checking the Battery Pack—.
- ¿Checking the Backup Battery.—
- ¿Checking the Standby Battery.—
Checking the AC Adapter:
You are here because the computer fails only when the AC Adapter is used. If the power-on indicator does not turn on, check the power cord of the AC Adapter for correct continuity and installation.
1. Unplug the AC Adapter cable from the computer and measure the output voltage at the plug of the AC Adapter cable. See the following figure.
AC Adapter (30W, 40W):
|
Pin |
Voltage (V dc) |
|
1 |
+ 17.1 to+ 18.9 |
|
2 |
Return |
|
Pin |
Voltage (V dc) |
|
1 |
+ 15.5 to+ 17.0 |
|
2 |
Return |
If the voltage is correct, replace the system board. If the problem is not corrected, go to ¿Undetermined Problems—. If the voltage is not correct, go to the next step.
2. Unplug the AC Adapter cable from the ac power outlet and wait five minutes or longer to allow the protection circuit to be fully discharged and initialized.
3. Plug the AC Adapter cable into the ac power outlet.
4. Measure the output voltage of the AC Adapter.
5. If the voltage is still not correct, replace the AC Adapter.
Note:
An audible noise from the AC Adapter does not always indicate a defective adapter.
Checking the Battery Pack:
1. Power-off the computer.
2. Remove the battery pack and measure the voltage between battery terminals 1 (+ ) and 4 (- ). See the following figure.
3. If the voltage is less than+ 10.0V dc, the battery pack has been discharged or is defective. Recharge the battery. If the recharging does not work, go to Step 5 to check the charging circuit.
If the voltage is still less than+ 10.0 V dc after the recharging, replace the battery.
4. If the voltage is more than+ 8.0V dc, measure the resistance between battery terminals 3 and 4. The resistance must be 4 to 30 kilohms.
If the resistance is not correct, replace the battery pack.
If the resistance is correct, replace the system board.
5. To check the charging circuit, do the following. Plug in the AC Adapter with the battery pack removed; then power-on the computer.
6. Measure the charging voltage between terminals1(+) and4(-) on the computer..
7. If the voltage is less then+ 10.0 Vdc, replace the system board. If the voltage is more than+ 10.0 Vdc, the charging circuit is working correctly, replace the battery pack.
Checking the Backup Battery:
1. Power-off the computer and unplug the AC Adapter from the computer.
2. Remove the backup battery.
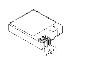
3. Measure the voltage of the backup battery. See the following figure.
|
Wire |
Voltage (V dc) |
|
Red |
+ 2.9 to+ 3.3 |
|
Black |
Ground |
If the voltage is correct, replace the system board. If the voltage is not correct, the backup battery has been discharged. Replace the backup battery. If the backup battery discharges quickly after replacement, replace the system board.
Checking the Standby Battery:
Be careful not to cause a short circuit when measuring the voltage.
1. Power-off the computer and unplug the AC Adapter from the computer.
2. Remove the standby battery.
3. Measure the voltage of the standby battery.
If the voltage between red and black is 3.5 V dc or greater, the voltage is correct. Go to Step 9 to verify standby battery operation. If the voltage is less than 3.5 V dc, go to the next step.
4. Plug the AC Adapter into the computer and power-on the computer.
5. Measure the output voltage at the connector on the system board.
|
Pin |
Voltage (V dc) |
|
+ |
+ 4.0 |
|
- |
Ground |
If the voltage is less than+ 4.0 V dc, replace the system board. If the voltage is more than + 4.0 V dc, power-off the computer, replace the standby battery, and go to the next step.
6. Ensure that the AC Adapter is plugged into the computer; then power-on the computer.
7. Charging of the standby battery starts.A depleted battery needs approximately 30 minutes to be recharged to the operational voltage of+ 3.5 V dc.
8. Unplug the AC Adapter.
9. Verify the standby battery function by removing and installing the battery pack during suspend mode.
Note:
Removing and installing the battery pack during suspend mode should be done within one minute.
The resume operation must start. If the resume operation does not work, switching of power from the battery pack to standby battery will not be correct. Replace the system board.
|
Search Keywords |
| |
|
Hint Category |
Hardware Maintenance Information | |
|
Date Created |
28-11-96 | |
|
Last Updated |
07-04-98 | |
|
Revision Date |
03-04-99 | |
|
Brand |
IBM ThinkPad | |
|
Product Family |
ThinkPad 340 | |
|
Machine Type |
2610 | |
|
Model |
Various | |
|
TypeModel |
| |
|
Retain Tip (if applicable) |
N/A | |
|
Reverse Doclinks |