|
16.901 bytes |
Service Hints & Tips |
Document ID: GKEY-3H4GA3 |
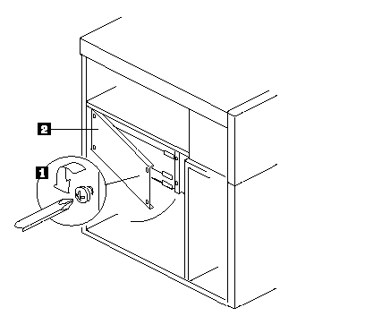
PCServer704 - Diagrams (Board Support Panel)
Applicable to: World-Wide
Board Support Panel
1 Screws
2 Support panel
|
Search Keywords |
| |
|
Hint Category |
Hardware Maintenance Information | |
|
Date Created |
15-05-97 | |
|
Last Updated |
28-05-98 | |
|
Revision Date |
27-05-99 | |
|
Brand |
IBM PC Server | |
|
Product Family |
PC Server 704 | |
|
Machine Type |
8650 | |
|
Model |
Various | |
|
TypeModel |
| |
|
Retain Tip (if applicable) |
| |
|
Reverse Doclinks |