| 
 32.698 bytes  | 
 
 Parts Information | 
 Document ID: GKEY-3JMBTR  | 
TP 765D/L - LCD FRU parts listing
Applicable to: World-Wide
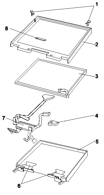
765D/L LCD FRU Diagram and Parts List
13.3 XGA, 11J8133
| 
 Index  | 
 Description  | 
 FRU  | 
| 
 1  | 
 See LCD cover group below  | |
| 
 2  | 
 LCD Front Cover  | |
| 
 3  | 
 LCD Panel (13.3 XGA)  | 
 11J8185  | 
| 
 4  | 
 Pinch Rubber  | 
 11J8186  | 
| 
 5  | 
 See LCD cover group  | |
| 
 6  | 
 Hinges  | 
 11J8135  | 
| 
 7  | 
 LCD Cable Assembly  | 
 11J8136  | 
| 
 8  | 
 See LCD cover group below  | 
 
 
  13.3 XGA, NEC 11J9654
| 
 Index  | 
 Description  | 
 FRU  | 
| 
 1  | 
 See LCD cover group below  | |
| 
 2  | 
 LCD Front Cover   | |
| 
 3  | 
 LCD Panel (13.3 XGA, NEC)  | 
 11J9655  | 
| 
 4  | 
 Pinch Rubber  | 
 11J8186  | 
| 
 5  | 
 See LCD cover group  | |
| 
 6  | 
 Hinges  | 
 11J8135  | 
| 
 7  | 
 LCD Cable Assembly  | 
 11J9657  | 
| 
 8  | 
 See LCD cover group  | 
 
| 
 LCD cover group  | 
 11J8134  | 
| 
 Includes the following:  | 
 
| 
 Search Keywords  | 
 | |
| 
 Document Category  | 
 Hardware Maintenance Information  | |
| 
 Date Created  | 
 03-07-97  | |
| 
 Last Updated  | 
 05-04-99  | |
| 
 Revision Date  | 
 18-08-99  | |
| 
 Brand  | 
 IBM ThinkPad  | |
| 
 Product Family  | 
 ThinkPad 765L, ThinkPad 765D  | |
| 
 Machine Type  | 
 9547, 9546  | |
| 
 Model  | 
 Various  | |
| 
 TypeModel  | 
 | |
| 
 Retain Tip (if applicable)  | 
 | |
| 
 Reverse Doclinks  |