|
41.374 bytes |
Service Hints & Tips |
Document ID: RJJR-3NH8ZY |
TP 560X - LCD FRU (TFT)
Applicable to: World-Wide
LCD FRU (TFT)
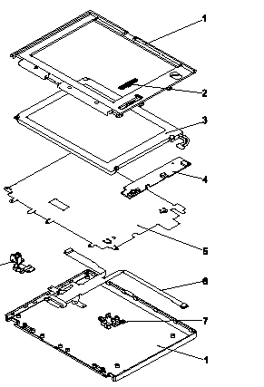
TFT 1 (12J1704)
|
Index |
System Unit |
FRU # |
|
1 |
LCD Cover Set |
05K4602 |
|
2 |
Control Knob |
11J9664 |
|
3 |
LCD Panel |
N/A |
|
4 |
Inverter Card |
11J9632 |
|
5 |
Shield Sheet |
46H4165 |
|
6 |
LCD Cable |
12J1705 |
|
7 |
Hinges |
11J9663 |
|
Hinge Spacer |
05K4658 |
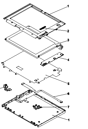
LCD FRU (TFT)
TFT 2 (12J1706)
|
Index |
System Unit |
FRU # |
|
1 |
LCD Cover Set |
05K4603 |
|
2 |
Control Knob |
11J9664 |
|
3 |
LCD Panel |
N/A |
|
4 |
Inverter Card |
82H5509 |
|
5 |
Shield Sheet |
46H4165 |
|
6 |
LCD Cable |
12J1707 |
|
7 |
Hinges |
11J9663 |
|
Search Keywords |
| |
|
Hint Category |
Hardware Maintenance Information | |
|
Date Created |
04-11-97 | |
|
Last Updated |
19-08-98 | |
|
Revision Date |
17-08-99 | |
|
Brand |
IBM ThinkPad | |
|
Product Family |
ThinkPad 560X | |
|
Machine Type |
2640 | |
|
Model |
Various | |
|
TypeModel |
| |
|
Retain Tip (if applicable) |
| |
|
Reverse Doclinks |