89.053 bytes

Parts Information

Document ID: GSMH-3D6GA2

This document is provided to IBM and our Business Partners to help sell and/or service IBM products. It is not to be distributed beyond that audience or used for any other purpose.

TP 710T - Parts Listing

Applicable to: World-Wide

Parts Listing:


System Unit:

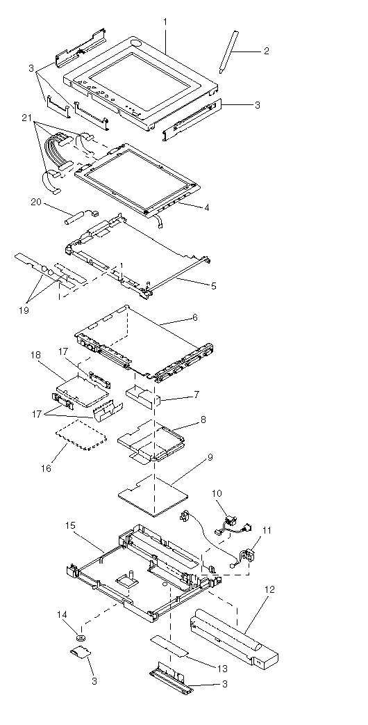
Index

1

Top Cover Assembly (TPF Model)

53G7099

Top Cover (HDD Model)

53G7100

2

Pen Assembly

53G7115

3

Cover Group

53G7098

4

LCD Unit assembly (Includes 3 cables from index 18)

48G9685

5

Shield Cover

53G7101

6

System Board (TPF Model)

53G6963

System Board (HDD Model)

53G6964

7

Inverter Card

53G7142

8

Miscellaneous Kit

53G6954

9

DC/DC Card

53G6965

10

Switch Cable Assembly

53G6966

11

Battery Terminal Assembly

53G6967

12

Battery Pack, Standard Size

U.S., Canada, LA, AG, AP, Spain, and Portugal

48G9775

Switzerland

48G9776

Norway, Sweden, Finland

48G9777

EMEA Others

48G9778

Benelux

48G9800

Japan

53G7143

12

Battery Pack, Half Size

U.S., Canada, LA, AG, AP, Spain, and Portugal

53G7104

Switzerland

53G7105

Norway, Sweden, Finland

53G7106

EMEA Others

53G7108

Benelux

53G7107

Japan

53G7110

13

SIMM 2MB

79F1002

SIMM 4MB

79F1003

SIMM 8MB

79F1004

14

Backup Battery

53G7114

15

Bottom Cover

53G7102

16

TPF 5MB, Non pre-loaded

48G9899

TPF 10MB, Non pre-loaded

48G9900

TPF 15MB, Non pre-loaded

49G0000


TPF, Pre-loaded:

TPF

10MB

15MB

15MB

P/N

PenDOS**

PenDOS

PenPoint**

U.S. English

53G7152

53G7151

53G7153

U.K. English

53G7155

53G7154

53G7156

French

53G7158

53G7157

53G7159

German

53G7161

53G7160

53G7162

Italian

53G7164

53G7163

53G7165

Spanish

53G7167

53G7166

53G7168

Japanese

53G7170

53G7169

53G7171


17

Miscellaneous Kit, Hard Disk Drive

48G9780

18

Hard Disk Drive, 60MB

53G6962

19

Switch and LED Card

48G9684

20

Sub Battery (Except countries below)

53G7092

For Switzerland

53G7093

For Benelux

53G7094

For Japan

48G9814

21

LCD/ Digitizer Cable

48G9686


External FRUs:

External Diskette Drive (without cable)

48G9896

External Diskette Drive Cable

48G9897

Quick Charger

48G9820

Car Adapter

U.S./Canada/LA/Japan

07G1190

EMEA

35G3304

AC Adapter

07G1246

AP/EMEA

07G1851

Japan (2-Pin)

07G1248


Note:
** PenPoint is a trademark of the GO Corporation.
** PenDOS is a trademark of the Communications Intelligence Corporation.

Tools and Miscellaneous:
No special tools are needed to service the computer. The following lists the miscellaneous parts kits. (Numbers in parentheses show quantity)

Screw kit
LCD screw (10)
System board and DC/DC screw (10)
Bottom cover screw long (10)
Bottom cover screw short (10)
Bus connector stud (10)
Connector stud screw (10)
Keyboard, Mouse screw (10)
FDD screw (10)
HDD bracket screw (10)
System board bracket screw (10)

53G7113

Knob Sheet
Knob sheet assembly (1)
(Screen control button top)

53G7103

Label Group
Serial No. label, blank (1)
Artwork blank (1)
Information label, H (1)
Information label, H for Japan (1)
Information label, T (1)
Information label, T for Japan (1)
Battery CSU label (1)

53G6952

Bracket Kit
I/O bracket assembly (1)
AT BUS,KBD/mouse bracket (1)
IC card bracket (1)
HDD bracket (1)

53G6953

Miscellaneous Kit
Battery knob (1)
Screw cap (1)
Front foot (1)
Rear foot (1)
DC/DC shield (1)

53G6954

Tri-Connector Wrap Plug

72X8546

PC Test Card

35G4703

Audio Wrap Cable

66G5180

Screwdriver Kit

95F3598


Power Cords:

Warning:
Use only the power cord certified for your country.

Index

1

Colombia, U.S., Venezuela

13F9959

Japan, 2-pin

6454377

Japan, 3-pin

65F0031

2

Hong Kong, Singapore, U.K.

14F0033

3

France, Germany, Spain

13F9979

4

Italy

14F0069

5

Australia, New Zealand

13F9940

6

Denmark

13F9997

7

Israel

14F0087

8

Bangladesh, Pakistan, Sri Lanka, South Africa

14F0015

9

Switzerland

14F0051

10

Thailand

1838574



Search Keywords

Document Category

Date Created

09-01-97

Last Updated

12-11-97

Revision Date

03-11-98

Brand

IBM ThinkPad

Product Family

ThinkPad 710

Machine Type

2523

Model

Various

TypeModel

Retain Tip (if applicable)

N/A

Reverse Doclinks
and Admin Purposes