|
37.513 bytes |
Parts Information |
Document ID: BMOE-3YBQFR |
TP 560Z - LCD FRU parts list
Applicable to: World-Wide
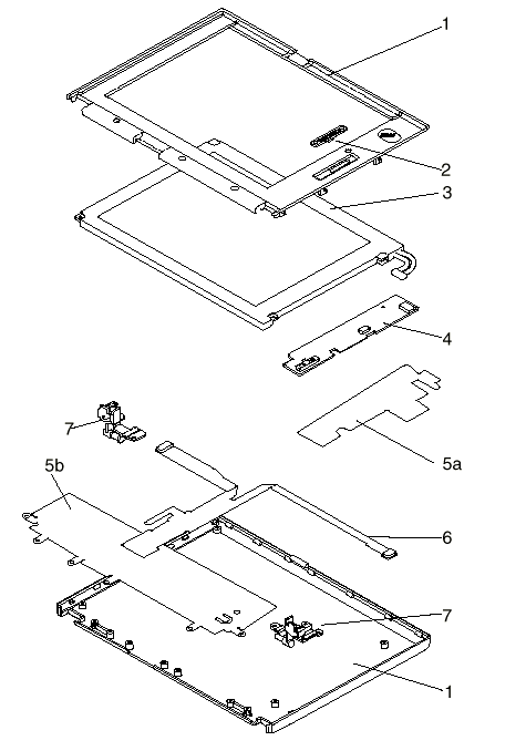
LCD FRU Diagram and Parts List
|
Ref. No |
FRU Name |
FRU No. |
|
1 |
LCD Cover Set |
05K4602 |
|
2 |
Control Knob |
12J9664 |
|
3 |
LCD Panel |
05K9353 |
|
4 |
LCD Inverter Card |
10L0916 |
|
5 |
Shield Kit |
05K5656 |
|
a |
Inverter Shield | |
|
b |
LCD Shield | |
|
6 |
LCD Cable |
05K2794 |
|
7 |
Hinge Left/Right |
05K5657 |
|
Search Keywords |
| |
|
Document Category |
Hardware Maintenance Information | |
|
Date Created |
14-09-98 | |
|
Last Updated |
19-01-99 | |
|
Revision Date |
19-01-2000 | |
|
Brand |
IBM ThinkPad | |
|
Product Family |
ThinkPad 560Z | |
|
Machine Type |
2640, 2641 | |
|
Model |
Various | |
|
TypeModel |
| |
|
Retain Tip (if applicable) |
| |
|
Reverse Doclinks |