|
23.553 bytes |
Parts Information |
Document ID: DETR-44HMC2 |
Aptiva - 2144/2168 (SL-C) parts - Diskette and hard disk drives
Applicable to: World-Wide
|
Asm-Index |
Part Number |
Units |
Description |
|
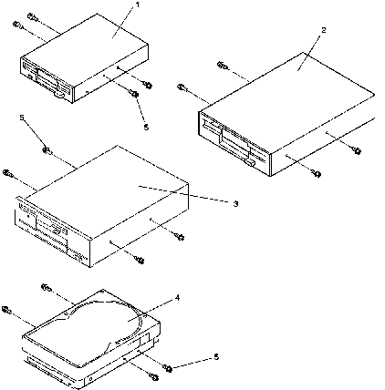
5-1 |
93F2361 |
1 |
3.5-in. 1.44MB Diskette Drive |
|
-1 |
73G4515 |
1 |
3.5-in. 1.44MB Diskette Drive (EMEA only) |
|
-2 |
60G2308 |
1 |
5.25-in. 1.2MB Diskette Drive |
|
-3 |
60G2310 |
1 |
Dual 3.5-In. and 5.25-In. Diskette Drive |
|
Hard Disk Drives Note: See the Appendix, Model/Monitor Configurations and FRU Part Numbers" in topic A.0 of the HMM for model specifications. | |||
|
-4 |
60G2261 |
1 |
170MB with read/write cache (SL-C) |
|
-4 |
06H4152 |
1 |
270MB with read/write cache (SL-C) |
|
-4 |
82G5927 |
1 |
363MB with read/write cache (SL-C) |
|
-4 |
60G2314 |
1 |
424MB with read/write cache (SL-C) |
|
-4 |
82G5928 |
1 |
540MB with read/write cache (SL-C) |
|
-4 |
82G5929 |
1 |
540MB with read/write cache (SL-C) |
|
-5 |
93F0041 |
1 |
Packet (Mounting Screws) |
|
-NS |
73G4471 |
1 |
Hard Disk Drive Support Bracket for Machine Type 2168, Bay 5 |
|
Search Keywords |
| |
|
Document Category |
Service Parts | |
|
Date Created |
26-01-99 | |
|
Last Updated |
27-01-99 | |
|
Revision Date |
| |
|
Brand |
IBM Aptiva | |
|
Product Family |
Aptiva | |
|
Machine Type |
2144, 2168 | |
|
Model |
22P; 24P; 25P; 29P; 14P; 26P; 62P; 66P; 16P; 82P; 86P; 27P; 83P; 22F; 24F; 25F; 26F; 62F; 27F; 18P; 19P; 20P; WM1; WM2; SW2; 743; 843; 744; 754; 853; 854; 755; 766; 866; 784; 785; 787; 887; 789; 889; 797; 745; 767; 855; 756; 786; 782; 788; 888; 792; 798; 768; 856; 857; 8K2; S86; S82; T82; H55; H66; H77; H78; H89; H92; H67; H80; H81; H90; H93; L55; L66; L77; L78; L89; L92; L67; L80; L81; L90; L93; K66; K77; KB1; KB2; K78; K89; K92; KB3; K67; K80; K81; KB4; MB4; KB5; MB5; K90; K93; KB6; X65; X70; X88; X79; X89; X90; Y65; Y70; Y78; Y84; Y88; Y79; Y89; Y90; 26J; 68J; 62J; 27J; 28J; 63J; 64J; 65J | |
|
TypeModel |
| |
|
Retain Tip (if applicable) |
| |
|
Reverse Doclinks |