|
53.485 bytes |
Service Hints & Tips |
Document ID: DETR-3WFLDZ |
Aptiva - 2139/2164 Removals and replacements - Pentium II or Pentium III processor
Applicable to: World-Wide
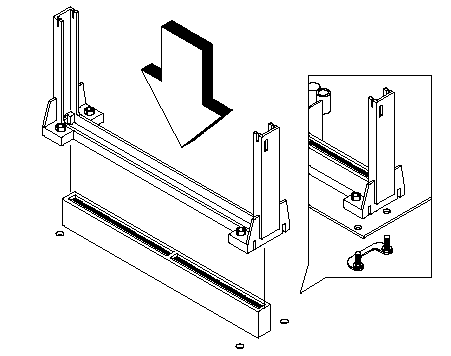
Follow these steps to remove the Pentium II CPU module from the slot.
NOTE: Determine the type of processor you are installing and make sure the jumpers are set correctly. Run the Setup Utility after correctly installing a processor.
ATTENTION: Processors are sensitive to static discharge.
NOTE: Pentium II or Pentium III Processor Installation
Follow these steps to install the Pentium II processor module with heat sink and fan to the socket on the system board
|
Search Keywords |
| |
|
Document Category |
Processors, Hardware Installation/Configuration, System Boards | |
|
Date Created |
16-07-98 | |
|
Last Updated |
24-02-99 | |
|
Revision Date |
14-12-99 | |
|
Brand |
IBM Aptiva | |
|
Product Family |
Aptiva | |
|
Machine Type |
2139, 2164 | |
|
Model |
all | |
|
TypeModel |
| |
|
Retain Tip (if applicable) |
| |
|
Reverse Doclinks |