30.282 bytes

Service Hints & Tips

Document ID: BMOE-42EK43

TP 390,390E,1720 - Speaker ASM 14.1" Removal

Applicable to: World-Wide

The following information is intended for IBM Dealers and Authorized Servicers only. Customers attempting to follow any of the procedures below may void their warranty.


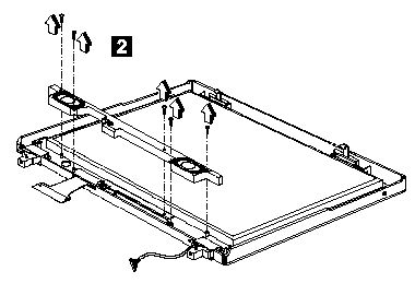
To remove the speaker:

1. Carefully disconnect the speaker cable from the connector.

2. Remove the six screws securing the speaker.

3. Gently lift the speaker away from the display panel.

Step

Size (Quantity)

Head &
Color

Torque

2

M2 x 4L (2)

Flat head,
silver

1.6 kgf-cm


Note: Make sure you use the correct screw for replacement.

Search Keywords

Hint Category

Hardware Installation/Configuration

Date Created

20-11-98

Last Updated

23-03-99

Revision Date

23-03-2000

Brand

IBM ThinkPad

Product Family

ThinkPad 390, ThinkPad i Series 172x

Machine Type

2626, 2627

Model

Various

TypeModel

Retain Tip (if applicable)

Reverse Doclinks
and Admin Purposes