|
26.493 bytes |
Parts Information |
Document ID: JWOE-3KXQCP |
Aptiva - 2140/2142 diskette, hard disk drives, and Zip Drive FRU part number list
Applicable to: China, Hong Kong, Japan, Australia, Canada, United States, Denmark, Finland, France, Germany, Italy, Netherlands, Norway, Spain, Sweden, United Kingdom
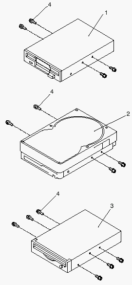
Assembly 5: Diskette, Hard Disk Drives, and Zip Drive
|
Asm- Index |
FRU Part Number |
Units |
Description |
|
5-1 |
75H9550 |
1 |
3.5-in. 1.44 MB 2 mode Diskette Drive |
|
-1 |
75H9552 |
1 |
3.5-in. 1.44 MB 3 mode Diskette Drive |
|
-2 |
12J3141 |
1 |
2.1 GB Hard Disk Drive (Type 2140) |
|
-2 |
02K3410 |
1 |
2.1 GB Hard Disk Drive (5.25-Inch) |
|
-2 |
12J4560 |
1 |
3.2 GB Hard Disk Drive |
|
-2 |
02K1146 |
1 |
4.2 GB Hard Disk Drive |
|
-2 |
12J3143 |
1 |
4.2 GB Hard Disk Drive |
|
-2 |
02K1148 |
1 |
4.2 GB Hard Disk Drive |
|
-2 |
10L6086 |
1 |
6.0 GB 5.25-In. Hard Disk Drive |
|
-2 |
00K7933 |
1 |
6.4 GB Hard Disk Drive |
|
-2 |
75H9921 |
1 |
6.4 GB 3.5-In. Hard Disk Drive |
|
-2 |
10L6087 |
1 |
8.0 GB 5.25-In. Hard Disk Drive |
|
-NS |
12J6421 |
1 |
Hard Disk Drive Cable |
|
Note: When referring to Hard-disk-drive capacity, MB means 1 000 000 bytes; total user-accessible capacity may vary depending on operating environment. When referring to hard-disk-drive capacity, GB means 1 000 000 000 bytes; total user-accessible capacity may vary depending on operating environment | |||
|
-3 |
76H6097 |
1 |
Zip Drive, 100 MB (Type 2142-S6S) |
|
-4 |
93F0041 |
1 |
Packet (Mounting Screws) |
|
Search Keywords |
| |
|
Document Category |
Service Parts | |
|
Date Created |
14-08-97 | |
|
Last Updated |
10-03-99 | |
|
Revision Date |
10-03-2000 | |
|
Brand |
IBM Aptiva | |
|
Product Family |
Aptiva | |
|
Machine Type |
2140, 2142 | |
|
Model |
All | |
|
TypeModel |
| |
|
Retain Tip (if applicable) |
| |
|
Reverse Doclinks |
Yes |