|
103.013 bytes |
Service Hints & Tips |
Document ID: GSMH-3CGHWD |
|
This document is provided to IBM and our Business Partners to help sell and/or service IBM products. It is not to be distributed beyond that audience or used for any other purpose. |
IBM ValuePoint - Type 6387 system board
Applicable to: World-Wide
6387 /T System Board (Type 1) (433DX or 466DX2):
Figure 12. 6387 /T (Type 1)
6387 /T System Board (Type 1) (433DX or 466DX2):
|
BT1 |
Battery |
|
J1 |
Power Connector |
|
J2 |
Diskette Connector |
|
J3 |
Hard Disk Connector |
|
J4 |
Keyboard Connector |
|
J5 |
BootBlock (not used: do not change) |
|
J6 |
Write Disable |
|
J7 |
Serial Port (Comm A) |
|
J8 |
Mouse Port |
|
J9 |
Password Bypass |
|
J10 |
Processor Upgrade |
|
J11 |
Processor Upgrade |
|
J12 |
Serial Port (Comm B) |
|
J13 |
Riser Connector |
|
J14 |
Parallel Port |
|
J15 |
Video Port |
|
J16 |
Monochrome Adapter |
|
J17 |
System Board Video Enable |
|
J18 |
Memory-Module Socket, MEM 1 |
|
J19 |
Memory-Module Socket, MEM 2 |
|
J20 |
Memory-Module Socket, MEM 3 |
|
J21 |
Memory-Module Socket, MEM 4 |
|
J23 |
Power-On LED |
|
J24 |
Hard Disk LED |
|
J25 |
Speaker |
|
J26 |
Video Feature Connector |
|
J47 |
Video Memory Connector |
|
J48 |
Video Memory Connector |
|
U10 |
486DX or 486DX2 Processor Upgrade Socket |
|
U13 |
Cache Socket |
|
U25 |
Riser Connector Extension |
Note:
Jumpers should be set as shown.
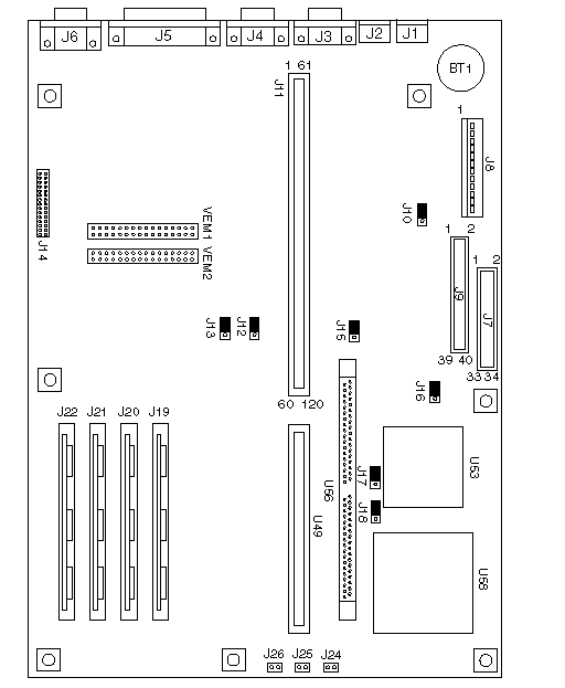
6387 /T System Board (Type 2) (433DX or 466DX2):
Figure 13. 6387 /T (Type 2)
6387 /T System Board (Type 2) (433DX or 466DX2):
|
BT1 |
Battery |
|
J1 |
Keyboard Connector |
|
J2 |
Mouse Port |
|
J3 |
Serial Port (Comm A) |
|
J4 |
Serial Port (Comm B) |
|
J5 |
Parallel Port |
|
J6 |
Video Port |
|
J7 |
Hard Disk Connector |
|
J8 |
Power Connector |
|
J9 |
Diskette Connector |
|
J10 |
BootBlock (not used: do not change) |
|
J11 |
Riser Connector |
|
J12 |
Monochrome Adapter |
|
J13 |
System Board Video Enable |
|
J14 |
Video Feature Connector |
|
J15 |
Password Bypass |
|
J16 |
Write Disable |
|
J17 |
Processor Upgrade |
|
J18 |
Processor Upgrade |
|
J19 |
Memory-Module Socket, MEM 1 |
|
J20 |
Memory-Module Socket, MEM 2 |
|
J21 |
Memory-Module Socket, MEM 3 |
|
J22 |
Memory-Module Socket, MEM 4 |
|
J24 |
Power-On LED |
|
J25 |
Hard Disk LED |
|
J26 |
Speaker |
|
U49 |
Riser Connector Extension |
|
U56 |
Cache Socket |
|
U58 |
486DX or 486DX2 Processor Upgrade Socket |
|
VEM1 |
Video Memory Connector |
|
VEM2 |
Video Memory Connector |
Note:
Jumpers should be set as shown.
|
Search Keywords |
| |
|
Hint Category |
Hardware Maintenance Information | |
|
Date Created |
18-12-96 | |
|
Last Updated |
30-04-98 | |
|
Revision Date |
05-01-99 | |
|
Brand |
IBM PC | |
|
Product Family |
ValuePoint | |
|
Machine Type |
6387 | |
|
Model |
all | |
|
TypeModel |
| |
|
Retain Tip (if applicable) |
| |
|
Reverse Doclinks |