|
26.331 bytes |
Service Hints & Tips |
Document ID: GSMH-3FGG6W |
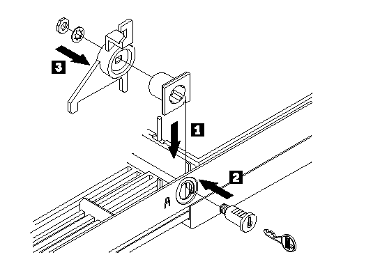
IBM PC - Keylock assembly exploded view (desktop models)
Applicable to: World-Wide
Keylock Assembly Exploded View (Desktop Models):

|
Search Keywords |
| |
|
Hint Category |
Hardware Maintenance Information | |
|
Date Created |
24-03-97 | |
|
Last Updated |
30-04-98 | |
|
Revision Date |
23-04-99 | |
|
Brand |
IBM PC | |
|
Product Family |
PC 330, PC 340, PC 350, PC 365, PC 730, PC 750 | |
|
Machine Type |
6571, 6573, 6575, 6576, 6577, 6560, 6581, 6583, 6585, 6586, 6587, 6589, 6875, 6876, 6877, 6885, 6886, 6887 | |
|
Model |
Various | |
|
TypeModel |
| |
|
Retain Tip (if applicable) |
| |
|
Reverse Doclinks |