|
53.399 bytes |
Service Hints & Tips |
Document ID: DDSE-3UXT2J |
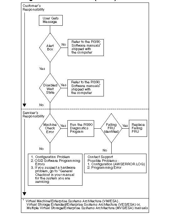
PCServer500 - Diagnostic Flow Chart (S/390)
Applicable to: World-Wide
Diagnostic Flow chart (S/390)

|
Search Keywords |
| |
|
Hint Category |
Diagnostics, Hardware Maintenance Information | |
|
Date Created |
14-08-96 | |
|
Last Updated |
13-11-98 | |
|
Revision Date |
05-11-99 | |
|
Brand |
IBM PC Server | |
|
Product Family |
PC Server 500 | |
|
Machine Type |
8641 | |
|
Model |
| |
|
TypeModel |
| |
|
Retain Tip (if applicable) |
| |
|
Reverse Doclinks |