|
9.815 bytes |
Service Hints & Tips |
Document ID: BMOE-42ELFM |
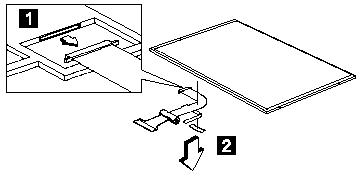
TP 390,390E,1720 - LCD FPC ASM 13.3" Removal
Applicable to: World-Wide
The following information is intended for IBM Dealers and Authorized Servicers only. Customers attempting to follow any of the procedures below may void their warranty.
Disconnect the LCD FPC cable from the LCD.
Note: The LCD FPC cable has a double-sided adhesive tape attached on its back side. A current black tape (LCD FPC Stopper Tape) must be applied to
this cable.
|
Search Keywords |
| |
|
Hint Category |
Hardware Installation/Configuration | |
|
Date Created |
20-11-98 | |
|
Last Updated |
23-03-99 | |
|
Revision Date |
23-03-2000 | |
|
Brand |
IBM ThinkPad | |
|
Product Family |
ThinkPad 390, ThinkPad i Series 172x | |
|
Machine Type |
2626, 2627 | |
|
Model |
Various | |
|
TypeModel |
| |
|
Retain Tip (if applicable) |
| |
|
Reverse Doclinks |