|
69.393 bytes |
Parts Information |
Document ID: DSHY-3PGLXG |
|
This document is provided to IBM and our Business Partners to help sell and/or service IBM products. It is not to be distributed beyond that audience or used for any other purpose. |
TP SelectaDock I - Parts Locations
Applicable to: World-Wide
Locations
SelectaDock Base Model I
Front View
1 Security Lock
2 Lock Indicator
3 PC Card Lock
4 Right-Hand Hole
5 Computer Catch Slit
6 Computer Lock
7 Left-Hand Hole
8 Ejector
9 Docking Connector
Rear View
1 Mouse/Pointing Device Connector
2 Keyboard/Numeric Keypad Connector
3 Kensington Lock Keyhole
4 Parallel Connector
5 Power Jack
6 Line-Out Jack
7 Serial Connector
8 External Display Connector
9 External Diskette Drive Connector
10 Expansion Connector
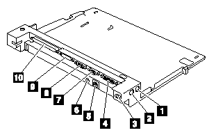
SelectaDockI
Front View
1 PCMCIA Slot
2 PC Card Lock Slide
3 SelectaDock Base ModelI Lock
4 UltraBay Connector1
5 UltraBay Connector2
6 Feature Jumper
7 Blank Bezel
8 Status Indicator
9 Docking Guide
10 Docking Connector
Rear View
1 Power Connector
2 MIDI/Joystick Jack
3 SCSI Connector
4 Line-Out Jack
5 ISA Adapter Card Slot
6 PCI Adapter Card Slot
System Status Indicators
1 Docked
1 Power On
2 Suspend Mode
3 Diskette Drive In-use
4 Hard Disk In-use
5 Attention

|
Search Keywords |
| |
|
Document Category |
Hardware Maintenance Information | |
|
Date Created |
02-08-96 | |
|
Last Updated |
16-03-98 | |
|
Revision Date |
12-03-99 | |
|
Brand |
IBM ThinkPad | |
|
Product Family |
ThinkPad Docking Stations | |
|
Machine Type |
3547 | |
|
Model |
001 | |
|
TypeModel |
| |
|
Retain Tip (if applicable) |
| |
|
Reverse Doclinks |