47.125 bytes

Service Hints & Tips

Document ID: BMOE-42ELHY

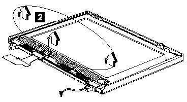
TP 390,390E,1720 - LCD Bezel ASM 12.1" Removal

Applicable to: World-Wide

The following information is intended for IBM Dealers and Authorized Servicers only. Customers attempting to follow any of the procedures below may void their warranty.


Remove the three screws securing the LCD bezel.

Step

Size (Quantity)

Head &
Color

Torque

2

M2.5 x 6L (3)

Pan head,
black

3.2 kgf-cm


Note: Make sure you use the correct screw for replacement.

Search Keywords

Hint Category

Hardware Installation/Configuration

Date Created

20-11-98

Last Updated

23-03-99

Revision Date

23-03-2000

Brand

IBM ThinkPad

Product Family

ThinkPad 390, ThinkPad i Series 172x

Machine Type

2626, 2627

Model

Various

TypeModel

Retain Tip (if applicable)

Reverse Doclinks
and Admin Purposes