19.044 bytes

Product Information

Document ID: MCGN-45ZJV3

Netfinity 5500 M20 - SCSI backplane component locations and SCSI backplane option jumpers

Applicable to: World-Wide

Source: Hardware Maintenance Manual

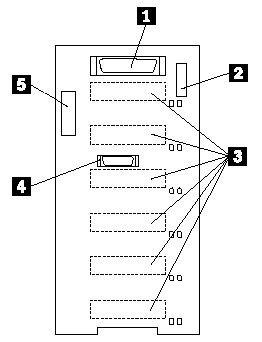
SCSI backplane component locations
The following simplified layout of the SCSI backplane identifies the components. Refer to this figure when you set the jumpers on the backplane.

1 Wide (16-bit) SCSI connector
2 Option jumper block (J10)
3 SCSI hot-swap drive connectors (on reverse side of backplane)
4 Repeater card connector
5 Power connector

SCSI backplane option jumpers
The option jumper block on the SCSI backplane defines the SCSI IDs for hot-swap drives. See the illustration in "SCSI backplane component locations" for the location of the option jumper block.

Table 16 summarizes the settings for the SCSI backplane option jumper block (J10).

Table 16. Backplane option jumper block

Pins

Description

1-2

Reserved.

3-4

Reserved.

5-6

Placing a jumper on these two pins enables SCSI IDs 8-13

7-8

Reserved.

9-10

Reserved.

11-12

Placing a jumper on these two pins reverses the SCSI IDs on the backplane.


Note: The default is no jumpers installed on the J10 jumper block.

Table 17 shows the SCSI IDs that you can use for hot-swap drives.

Table 17. SCSI IDs for hot-swap drives

J10
Pins 5-6

J10
Pins 11-12

Bay 1

Bay 2

Bay 3

Bay 4

Bay 5

Bay 6

No jumper

No jumper

0

1

2

3

4

5

No jumper

Jumper

5

4

3

2

1

0

Jumper

No jumper

13

12

11

10

9

8


Notes:
1. No jumper on pins 5-6 and 11-12 is the default.
2. Jumpers on pins 5-6 and 11-12 is not supported.

Search Keywords

Document Category

Diagrams

Date Created

15-03-99

Last Updated

21-05-99

Revision Date

16-03-2000

Brand

IBM PC Server

Product Family

Netfinity 5500 M20

Machine Type

8662

Model

ALL

TypeModel

Retain Tip (if applicable)

Reverse Doclinks
and Admin Purposes