42.415 bytes

Service Hints & Tips

Document ID: JWOE-3LDNNW

Aptiva - 2137 CD-ROM drive jumper settings

Applicable to: World-Wide

CD-ROM Drive Information and Jumper Settings

Attention: Either <option 1> or <option 2> CD-ROM drive may come with your Aptiva machine. Their front panel buttons, indicators and emergency eject method could be different.

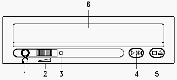
Item

Description

1

Load / eject button

2

Headphone jack

3

Power-on / busy indicator, lights up in green color while disc is set in ready state; lights up and flashes in amber color during data read or seek operation.

4

Headphone volume control

5

Emergency eject hole.
See CD - ROM Emergency-exit <option 1> below.

6

Audio Play/Skip track control button.


CD - ROM Emergency-exit <option 1>

If for any reason the tray does not eject
automatically, insert and press an eject-bar inside
the emergency eject hole to manually eject the
tray. A straightened paper clip with a diameter of
1.2 mm (typical) can be used as an eject-bar.


Note: Make sure to turn off the power before manual disc eject operation.

Figure 5- 12 CD-ROM Front Panel <option 2>

Table 5- 11 CD-ROM Front Panel Introduction <option 2>

Item

Description

1

Headphone jack

2

Headphone volume control

3

Busy indicator, lights up and flashes in amber color during data read or seek operation.

4

Audio Play/Skip track control button

5

Load / eject button

6

Disc tray and emergency eject
See CD-ROM Emergency-exit <option 2> below.


CD-ROM Emergency-exit Option <2>


Locate the bottom edge of the disc tray. Gently pry the disk tray open with a screwdriver. When the disc tray opens, simply remove the disc from the CD-ROM drive.

CD-ROM Drive Rear Panel Connectors and Features

Figure 5- 13 CD-ROM Rear Panel

Note: CD-ROM drives may come with no item 5 and 6 (digital audio output and testing jumper) connectors.

Table 5- 12 CD-ROM Drive Rear Panel Connectors and Features

Item

Function

Connect to...

1

Power supply connector

Power supply

2

Interface connector

System board (CN10)

3

Configuration jumper. See table 5-13

- -

4

Audio line out connector

System board (CN6)

5

Digital audio output

- -

6

Testing jumper is reserved for
internal testing purposes.

- -


CD-ROM Drive Jumper Settings

Table 5-13 CD-ROM Drive Jumper Settings

CS

SL

MA

DESCRIPTION

- -

- -

On

Drive configured as a Master

- -

On

- -

Drive configured as a Slave

On

- -

- -

Cable select



Search Keywords

Hint Category

Hardware Installation/Configuration, CD-ROM Drives, Jumper/Switch Settings

Date Created

28-08-97

Last Updated

11-01-99

Revision Date

11-01-2000

Brand

IBM Aptiva

Product Family

Aptiva

Machine Type

2137

Model

All

TypeModel

Retain Tip (if applicable)

Reverse Doclinks
and Admin Purposes