102.082 bytes

Parts Information

Document ID: GSMH-3E8LSX

PC Server 330 - System Parts Listing (8640 - EM2, ES0, ES2, ESS)

Applicable to: World-Wide

System:

Note:
The model(s) listed for the following FRUs indicates FRUs that the models may contain at the time of shipping or supported options.


Index

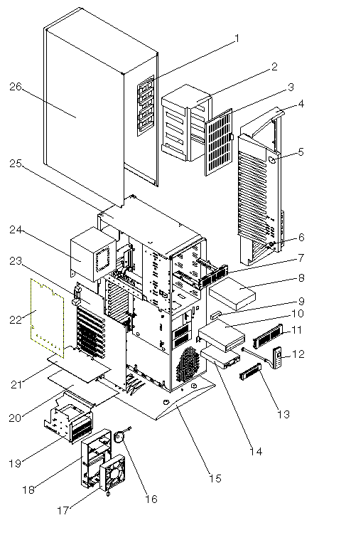
System (PC Server 330 - Type 8640)

FRU No.

1

DASD Hot Swap Backplane
(Models EM2, ES2, ESS)

06H8576

2

Hot Swap Shell
(Models EM2, ES2, ESS)

06H5068

3

Hot Swap Door Assembly
(Models EM2, ES2, ESS)

06H5070

4

Front Bezel/Door Assembly
(Models EM2, ES0, ES2, ESS)

60H7061

5

PC Server 330 Label
(Models EM2, ES0, ES2, ESS)

75H8324

6

Keylock, with Keys
(Models EM2, ES0, ES2, ESS)

33F8433

7

DASD Tray
(Models EM2, ES2, ESS)

06H8631

8

2GB Hard Disk Drive Fast/Wide 1X
(Model ESS)

76H0958

9

CD-ROM 16/8 Bit SCSI Converter
(Models EM2, ES0, ES2, ESS)

92F0324

10

MKE CR-504 8X SCSI CD-ROM Drive (Models EM2, ES0, ES2, ESS)

73H2601

11

5.25-Inch Blank Bezel
(Model ES0)

71G0771

12

LED/On/Off Switch Cable Assembly
(Operator Panel)
(Models EM2, ES0, ES2, ESS)

55H8168

13

3.5-Inch Blank Vented Bezel
(Models EM2, ES0 ,ES2, ESS)

55H8174

14

1.44MB Diskette Drive
(Models EM2, ES0, ES2, ESS)

93F2361

15

Pedestal
(Models EM2, ES0, ES2, ESS)

96G2412

16

Speaker
(Models EM2, ES0, ES2, ESS)

06H2649

17

Fan Assembly, with Connector
(Models EM2, ES0, ES2, ESS)

11L2341
( replaces 76H3447 )

18

Card Guide
(Models EM2, ES0, ES2, ESS)

60H7065

19

DASD 3-Drive Cage
(Models EM2, ES0, ES2, ESS)

60H7064

20

Processor Board with Voltage Regulator, without Processor Chip
(Models EM2, ES0, ES2, ESS)

75H7419

21

PC ServeRAID Adapter
(Model ESS)

06H9334

22

Air Baffle
(Models EM2, ES0, ES2, ESS)

76H3467

23

System Board, without Memory, Processor Card
(Models EM2, ES0, ES2, ESS)

75H7432

24

350W 3.3v Power Supply Assembly
(Models EM2, ES0, ES2, ESS)

75H8479

25

Base Frame
(Models EM2, ES0, ES2, ESS)

60H7062

26

Access Cover
(Models EM2, ES0, ES2, ESS)

60H7063

32MB ECC 3.3v DIMM
(Models EM2, ES0, ES2, ESS)

42H2773

64MB ECC 3.3v Buffer DIMM
(Models EM2, ES0, ES2, ESS)

42H2774

128MB ECC 3.3v Buffer DIMM
(Models EM2, ES0, ES2, ESS)

76H0656

Fan Sink with Tape and Clip
(Models EM2, ES0, ES2, ESS)

76H1813

Heat Sink, with Tape, Clip
(Models EM2, ES0, ES2, ESS)

76H1814

Keyboard with Cables, see 'Keyboards (101/102 Key).—

Miscellaneous Parts Kit
(Models EM2, ES0, ES2, ESS)

  • 32X5/16" Screws (6 each)
  • Diskette Drive M3 Screws (2 each)
  • EMC Contact (1 each)
  • EMC Ground Contacts (4 each)
  • FEM-Nut 4-40 Screws (2 each)
  • Hard Disk Drive 6-32 Screws (2 each)
  • I/O Blank (1 each)
  • Plastic Rivets (3 each)
  • Power Switch Bracket (1 each)
  • System Board Edge Support (1 each)
  • System Board M3X8 HEX Screws (3 each)

55H8179

Mouse
(Models EM2, ES0, ES2, ESS)

06H4595

P6 66/200 MHz Processor Chip with 256K Internal Cache, Heat Sink, and grease (Models ES0, ES2, ESS)

75H9831

P6 66/200 MHz Processor Chip with 512K Internal Cache, Heat Sink, and grease (Model EM2)

12J3501

Power Cord, see 'Power Cords—.

Real Time Clock with Battery
(Models EM2, ES0, ES2, ESS)
See 'Battery Notice— before replacing this FRU.

82G3620

Service Processor Card
(PC Server Advanced Systems Management Adapter)
(Models EM2, ES0, ES2, ESS)

76H3240

Shadow Box
(Models EM2, ES0, ES2, ESS)

60H7066

Voltage Regulator - 11.2 amp.
(Models ES0, ES2, ESS)

Note:
Use this FRU with processors that have 256K of internal cache only.

subs p/n 76H1815 to 07H1097

Voltage Regulator - 12.4 amp.
(Model EM2)

Note:
This FRU must be used with Processor FRU 76H4889 which has 512K of internal cache.

07H1097


Cables:

Index

Cables (Server 330 - Type 8640)

FRU No.

1

SCSI Hard Disk Drive Fast Cable 1X (Models EM2, ES2, ESS)

76H3453

2

SCSI Hard Disk Fast Cable 3X (Models EM2, ES2, ESS)

76H3455

3

SCSI Hard Disk Drive Fast/Wide Cable (7X) (Models ES0)

55H8192

4

Diskette Drive Signal Cable with Power (Models EM2, ES0, ES2, ESS)

92F0423

5

Parallel Data Cable (Models EM2, ES0, ES2, ESS)

55H8206

6

Y Serial Data Cable (Models EM2, ES0, ES2, ESS)

55H8204

7

Infrared Data Cable (Models EM2, ES0, ES2, ESS)

55H8194

8

Ethernet Pigtail Cable (Models EM2, ES0, ES2, ESS)

76H3480


Keyboards (101/102 Key):

Keyboards (101/102 key)

FRU No.

Arabic

1391490

Belgium-Dutch

1391414

Belgium-French

1391526

Bulgarian

1399583

Czech

1399570

Danish

1391407

Dutch

1391511

Finnish

1391411

French

1391402

German

1391403

Greek

1399046

Hebrew

1391408

Hungarian

1399581

Iceland

1391495

Italy

1393395

Latvia

1391406

Norwegian

1391409

Polish

1399580

Portuguese

1391410

Romanian

1399582

Russian-Cyrillic

1399579

Serbian-Cyrillic

1399578

Slovak

1399571

Slovenia/Croatia/Bosnia

1393669

South Africa

1396790

Spanish

1391405

Swedish

1391411

Swiss-French

1391412

Swiss-German

1391412

Turkish 179

8125409

Turkish 440

1393286

U.K. English

1391406

U.S. English

75H9505

U.S. English (E/ME/A only)

1396790


Power Cords:

Power Cords (PC Server 330 Type 8640)

FRU No.

Arabic

14F0033

Belgium

1339520

Bulgaria

1339520

Czech Republic

1339520

Denmark

13F9997

Finland

1339520

France

1339520

Germany

1339520

Hungary

1339520

Israel

14F0087

Italy

14F0069

Latvia

1339520

Netherlands

1339520

Norway

1339520

Poland

1339520

Portugal

1339520

Serbia

1339520

Slovakia

1339520

South Africa

14F0015

Spain

1339520

Switzerland

1339520

Switzerland (French/German)

14F0051

U.S. English

62X1045

U.K./Ireland

14F0033

Yugoslavia

1339520



Search Keywords

Document Category

Service Parts

Date Created

12-02-97

Last Updated

23-03-99

Revision Date

23-03-2000

Brand

IBM PC Server

Product Family

PC Server 330

Machine Type

8640

Model

EM2; ES0; ES2; ESS

TypeModel

Retain Tip (if applicable)

N/A

Reverse Doclinks
and Admin Purposes