|
20.719 bytes |
Service Hints & Tips |
Document ID: JGRI-3EHUL4 |
|
This document is provided to IBM and our Business Partners to help sell and/or service IBM products. It is not to be distributed beyond that audience or used for any other purpose. |
Aptiva - 2134/2176 1.2 GB Hard Drive FRU 07H0383 (SL-A)
Applicable to: World-Wide
|
Primary Mfg |
Western Digital |
|
Model Number |
?? |
|
Name |
C9/C10 |
|
Support |
WorldWide |
|
Interface |
IDE |
|
Format | |
|
Size |
3.5 |
|
Form Factor (Inches) |
1 |
|
Capacity |
1.2 GB |
|
Performance Specs | |
|
Average seek time |
12 ms (includes setting) |
|
Track to track seek time |
3 ms (includes setting) |
|
Full stroke seek time |
19 ms (includes setting) |
|
Average rotational latency |
5.76 ms |
|
Rotational speed |
5,200 RPM |
|
Data rate disk to buffer |
?? |
|
Data rate buffer to host | |
|
PIO Mode/Rate |
4 : 16.6 MB/Sec |
|
DMA Mode/Rate |
2 : 16.6 MB/Sec |
|
Buffer Size |
128 KB |
|
Interleave |
1:1 |
|
Reliability Specifications | |
|
Proj fld MTBF |
300,000 POH |
|
Start/Stop Cycles |
50,000 minimum |
|
Preventive Maintenance |
Not required |
|
Data Errors | |
|
Recoverable |
1 per 10 to the 8th power |
|
Non-recoverable |
1 per 10 to the 13th power |
|
Error Correction Method |
Reed Solomon |
|
Disk Drive Configuration | |
|
Form Factor |
3.5 Inch Disks |
|
Interface |
ATA-2 |
|
Formatted Capacity | |
|
Number of disks |
3 |
|
Number of Heads |
6 |
|
Bytes/Sector |
512 |
|
Track Density (TPI) | |
|
Physical Specifications | |
|
Width |
4.0" (101.6 mm) |
|
Length |
5.75" (146.1 mm) |
|
Height |
1.0" (25.4 mm) |
|
Weight |
1.2 lbs (0.54 kg) |
|
Connector Options | |
|
ATA-2 |
40-pin dual in-line |
|
Power |
4-pin industry standard |
|
Environmental | |
|
Operating | |
|
Temperature |
0 to 55 C |
|
Non-Cond Humidity |
5 to 80 % |
|
Shock |
10 G for 11 ms |
|
Vibration |
1 G peak-to-peak |
|
Altitude (feet) |
-1,000 to 10,000 |
|
Non-operating | |
|
Temperature |
-40 to 65 C |
|
Non-Cond Humidity |
5 to 95 % |
|
Shock |
150 G (3 drops/axis max.) |
|
Vibration |
4 G zero-to-peak |
|
Altitude (feet) |
-1,000 to 40,000 |
|
Idle Sound Pressure |
37 dBA |
|
Idle sound Power |
3.7 bels |
|
Power Specifications | |
|
Start-up |
12.4 Watts |
|
Idle |
5.1 Watts |
|
Read/Write |
5.1 Watts |
|
Random Seeking |
8.6 Watts |
|
Sleep/Standby |
0.6 Watts |
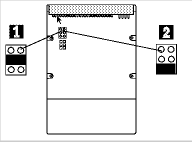
Jumper Settings

1 = Master 2 = Slave
Note: 1.2 GB Hard Drives may be manufactured by either Quantum or Western Digital
|
Search Keywords |
| |
|
Hint Category |
Hard Drives, Jumper/Switch Settings, Technical Specifications | |
|
Date Created |
21-02-97 | |
|
Last Updated |
22-01-99 | |
|
Revision Date |
07-12-99 | |
|
Brand |
IBM Aptiva | |
|
Product Family |
Aptiva | |
|
Machine Type |
2134, 2176 | |
|
Model |
| |
|
TypeModel |
| |
|
Retain Tip (if applicable) |
| |
|
Reverse Doclinks |