85.037 bytes

Service Hints & Tips

Document ID: GSMH-3CAD5B

This document is provided to IBM and our Business Partners to help sell and/or service IBM products. It is not to be distributed beyond that audience or used for any other purpose.

TP General - N45SL FRU Removals and Replacements

Applicable to: World-Wide

FRU Removals and Replacements:
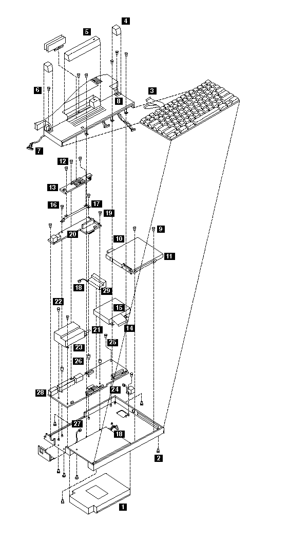
Follow the numerical sequence in the FRU removal sequence list and the exploded view to remove or disconnect parts in the correct order. The letters in parentheses in the list indicate screw types. See the -- 'Screw Chart Size' -- to match the letters to the correct screw type and size before replacing each screw.

Safety Notice 8:
Before removing any FRU, power-off the computer, unplug all power cords from electrical outlets, remove the battery pack, then disconnect any interconnecting cables.

Safety Notice 1:
Before the computer is powered-on after FRU replacement, make sure all screws, springs, or other small parts are in place and are not left loose inside the computer. Verify this by shaking the computer and listening for rattling sounds. Metallic parts or metal flakes can cause electrical shorts.

1

Battery Pack

2

Three Screws (1-G, 2-J)
(Two on bottom of cabinet near front, one inside battery compartment) Loosen Keyboard

3

Two Ribbon Cables and Remove Keyboard

4

Hinge Covers
(Apply pressure to hinge cover sides and pull up.)

5

Memory Module Cover
(Gently pry from rear.)

6

Three Screws (1-J, 2-WW)
(One screw at each hinge and one at back edge under memory module cover.)

7

Three LCD Assembly Cables
(These cables attach to underside of LCD assembly. Observe cable routing and place cables in same position when replacing
top cover.)

8

Three Screws and LCD Assembly
(Top cover is part of LCD assembly. Only part of LCD is shown. Long silver screws are located at front edge of LCD assembly.)

9

Two Screws (J)
(At front edge of diskette drive)

10

Diskette Drive Ribbon Cable

11

Diskette Drive

12

Three Screws (J) (Move shielding aside. Do not crease shielding.)

13

Memory Module Expansion Card

14

Hard Disk Drive Ribbon Cable

15

Hard Disk Drive
(One screw on cabinet bottom holds hard disk drive in place. Have customer backup hard disk drive before removing drive. Run Prep after installing new hard disk drive. )

16

Two Screws (J)
(At each end of memory module support bracket)

17

Memory Module Support Bracket

18

Backup Battery, Battery Compartment Cables
(Look for 18 twice in illustration.)

19

Two Screws (J)
(At each end of DC to DC PCB Assembly)

20

DC to DC PCB Assembly
(Lift front to unplug assembly from system board. Be careful not to damage or lose shielding.)

21

Modem Ribbon Cable

22

Three Modem Housing Screws (J)
(Front right screw holds a black grounding cable down.)

23

Modem Housing Assembly

24

Mouse Cable

25

One System Board Screw (J)

26

Three System Board Threaded Hex Spacers

27

Cable

28

System Board
(Transfer math coprocessor (if installed) to new system board.)

29

Backup Battery


Model N45 Exploded View:


Search Keywords

Hint Category

Hardware Maintenance Information

Date Created

12-12-96

Last Updated

01-05-98

Revision Date

28-04-99

Brand

IBM ThinkPad

Product Family

Notebook N45

Machine Type

2614

Model

Various

TypeModel

Retain Tip (if applicable)

N/A

Reverse Doclinks
and Admin Purposes