23.807 bytes

Service Hints & Tips

Document ID: BMOE-426G8M

TP 390,390E,1720 - Planar Board Removal

Applicable to: World-Wide

The following information is intended for IBM Dealers and Authorized Servicers only. Customers attempting to follow any of the procedures below may void their warranty.



Note: See "Replacing the System Board" before proceeding.

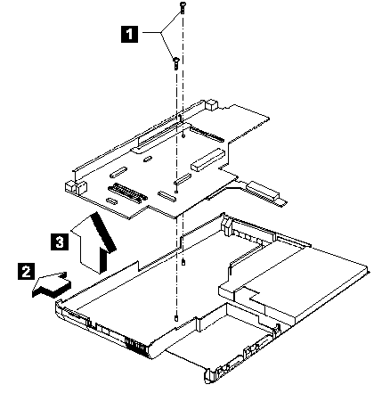
Remove the two screws from the planar board and gently remove the planar board from the base cover ASM.

Step

Size (Quantity)

Head &
Color

Torque

1

M2.5 x 6L (2)

Pan head,
black

3.2 kgf-cm


Note: Make sure you use the correct screw for replacement.

Search Keywords

Hint Category

Hardware Installation/Configuration, Hardware Maintenance Information

Date Created

12-11-98

Last Updated

23-03-99

Revision Date

23-03-2000

Brand

IBM ThinkPad

Product Family

ThinkPad 390, ThinkPad i Series 172x

Machine Type

2626, 2627

Model

Various

TypeModel

Retain Tip (if applicable)

Reverse Doclinks
and Admin Purposes