|
9.064 bytes |
Service Hints & Tips |
Document ID: LWIK-3PCM8R |
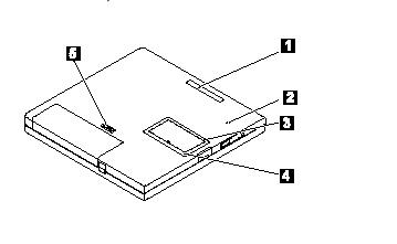
TP 560X - Bottom View
Applicable to: World-Wide
Locations
Bottom View
1 System-Expansion Connector
2 Power Shutdown Switch
3 Memory Slot
4 Memory-Slot Cover
5 Battery Pack Latch
|
Search Keywords |
| |
|
Hint Category |
General Information | |
|
Date Created |
01-12-97 | |
|
Last Updated |
02-04-98 | |
|
Revision Date |
14-03-99 | |
|
Brand |
IBM ThinkPad | |
|
Product Family |
ThinkPad 560X | |
|
Machine Type |
2640 | |
|
Model |
Various | |
|
TypeModel |
| |
|
Retain Tip (if applicable) |
| |
|
Reverse Doclinks |