|
112.379 bytes |
Parts Information |
Document ID: GSMH-3C9KM7 |
|
This document is provided to IBM and our Business Partners to help sell and/or service IBM products. It is not to be distributed beyond that audience or used for any other purpose. |
Notebook N51 - Parts Listing
Applicable to: World-Wide
Parts Listing:
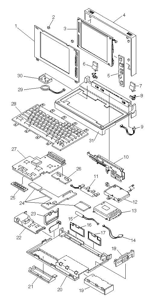
System Unit:
|
Index | ||
|
1 |
LCD Bezel, N51 SX |
07G1741 |
|
LCD Bezel, N51 SX (Japan only) |
07G1842 | |
|
1 |
LCD Bezel, N51 SLC |
35G3229 |
|
LCD Bezel, N51 SLC (Japan only) |
35G3230 | |
|
2 |
Bumper, Rubber |
07G1742 |
|
3 |
LCD Panel |
07G1737 |
|
Cable, LCD |
07G1739 | |
|
4 |
LCD Rear Cover, N51 SX |
07G1740 |
|
LCD Rear Cover, N51 SX (Japan only) |
07G1841 | |
|
4 |
LCD Rear Cover, N51 SLC |
35G3231 |
|
LCD Rear Cover, N51 SLC (Japan only) |
35G3232 | |
|
5 |
Inverter, LCD |
07G1738 |
|
6 |
LCD Hinge Cover, Left |
07G1745 |
|
7 |
LCD Hinge Cover, Right |
07G1744 |
|
8 |
LCD Hinge, Right/Left |
07G1210 |
|
LCD Cover Kit |
35G3335 | |
|
9 |
Lid Switch with Holder |
07G1211 |
|
10 |
I/O Panel Assembly |
07G1216 |
|
11 |
Terminal Assembly, Battery |
07G1223 |
|
14 |
Backup Battery, Lithium |
07G1225 |
|
Holder, Backup Battery |
07G1736 | |
|
15 |
Standby Battery |
07G1240 |
|
Standby Battery, Benelux |
07G1503 | |
|
Standby Battery, Switzerland |
07G1241 | |
|
16 |
Door, Bus Connector |
07G1212 |
|
Door, Bus Connector |
07G1954 | |
|
17 |
Door, I/O Connector |
07G1213 |
|
18 |
Bezel, Diskette Drive |
07G1227 |
|
19 |
Battery Pack, Nickel-Cadmium |
07G1242 |
|
Sweden |
07G1194 | |
|
Benelux |
07G1497 | |
|
Switzerland |
07G1243 | |
|
19 |
Battery Pack, Nickel-Hydride |
07G1244 |
|
Sweden |
07G1195 | |
|
Benelux |
07G1500 | |
|
Switzerland |
07G1245 | |
|
20 |
Bottom Cover |
07G1209 |
|
21 |
Cover, Memory-Module Kit |
07G1222 |
|
22 |
Communication Adapters: | |
|
Serial Adapter |
79F6840 | |
|
Data/Fax Modem Adapter U.S., Canada only |
53G7772 | |
|
Data/Fax Modem Adapter Japan only |
94X2506 | |
|
High-Speed Data/Fax Modem U.S., Canada only |
42G2592 | |
|
Telephone Cable |
94X1540 | |
|
23 |
Door, Option Slot |
07G1214 |
|
24 |
Voltage Converter |
07G1219 |
|
Holder, Voltage Converter |
07G1221 | |
|
25 |
2MB Memory Module Kit |
07G1879 |
|
4MB Memory Module Kit |
07G1880 | |
|
8MB Memory Module Kit |
07G1881 | |
|
26 |
Card, Keyboard Control, N51 SX |
07G1218 |
|
26 |
Card, Keyboard Control, N51 SLC |
35G3239 |
|
Supporter, Keyboard Control Card |
07G1220 | |
|
27 |
System Board, N51 SX |
07G1876 |
|
System Board, N51 SX (Japan only) |
07G1877 | |
|
27 |
System Board, N51 SLC |
06G9902 |
|
System Board, N51 SLC (Japan only) |
06G9903 | |
|
28 |
Keyboard | |
|
29 |
Speaker |
07G1229 |
|
30 |
Holder, Speaker |
07G1734 |
|
Holder, Cable Assembly |
07G1761 | |
|
Bracket and Guide, Option Slot |
07G1215 | |
|
31 |
Cover, Keyboard |
07G1208 |
|
Miscellaneous Kit |
07G1743 | |
|
Leg Kit |
07G1209 | |
|
Screw Kit (230 screws) |
07G1835 |
DASD:
|
12 |
40MB Hard Disk Drive |
95F4707 |
|
12 |
80MB Hard Disk Drive |
95F4708 |
|
Cable, Hard Disk Drive |
07G1226 | |
|
13 |
Diskette Drive Assembly |
06G9865 |
|
Cable, Diskette Drive |
07G1228 |
Options and Adapters:
|
5.25-inch Drive Adapter/A (360KB/1.2MB) |
15F7996 |
|
80386 Memory Expansion Adapter |
72X6671 |
|
AC Adapter |
07G1851 |
|
AC Adapter (U.S., Canada, and Latin America) |
07G1246 |
|
AC Adapter (Japan, 2-pin) |
07G1248 |
|
AC Adapter (Japan, 3-pin) |
07G1771 |
|
Car Battery Adapter |
07G1190 |
|
Car Battery Adapter for European countries |
06G9878 |
|
Cartridge, External Power Pack |
07G1541 |
|
Communications Cartridge |
07G2581 |
|
Communications Cartridge |
07G3999 |
|
Data/Fax Modem Adapter (U.S./Canada only) |
53G7772 |
|
Diskette Drive Bus Adapter |
72X8524 |
|
External Diskette Drive Adapter |
72X6757 |
|
External Power Pack |
07G1540 |
|
for Sweden |
07G1544 |
|
for Benelux |
07G1546 |
|
for Switzerland |
07G1542 |
|
External Storage Device Cable |
23F3230 |
|
FaxConcentrator Adapter/A |
94X2540 |
|
FaxConcentrator Adapter/A Cable |
94X2527 |
|
Game Control Adapter |
8529151 |
|
Memory Expansion Kit (for 72X6671) |
72X6672 |
|
Miniature Mouse |
95F5723 |
|
Quick Charger |
07G1854 |
|
Quick Charger |
07G1247 |
|
Quick Charger (Japan, 2-pin) |
07G1249 |
|
Quick Charger (Japan, 3-pin) |
07G1774 |
|
SCSI Fast Adapter (16 Bit AT) |
92F0330 |
|
SCSI External Cable (for 92F0330) |
32G4089 |
|
SCSI Internal Cable (for 92F0330) |
37G0084 |
|
SCSI Adapter/A (with Cache) |
85F0063 |
|
SCSI Adapter/A (without Cache) |
85F0002 |
|
SCSI Cable (internal) |
64F4127 |
|
Serial Adapter |
79F6840 |
|
Strap |
07G1449 |
|
Terminator, Inline (space permitting) |
92F0142 |
Keyboards:
|
Arabic |
07G2954 |
|
Belgian |
07G1482 |
|
Canadian French |
07G1490 |
|
Danish |
07G1483 |
|
Dutch |
07G1484 |
|
French |
07G1167 |
|
German |
07G1168 |
|
Greek |
07G2957 |
|
Hebrew |
07G2956 |
|
Icelandic |
07G2955 |
|
Italian |
07G1169 |
|
Japan |
07G1481 |
|
Norwegian |
07G1485 |
|
Portuguese |
07G1489 |
|
Spanish |
07G1480 |
|
Spanish Speaking |
07G1491 |
|
Swedish/Finnish |
07G1486 |
|
Swiss/French |
07G1487 |
|
Swiss/German |
07G1488 |
|
Turkish |
07G2953 |
|
U.K. English |
07G1166 |
|
U.S. English |
07G1735 |
|
Arabic |
95F6877 |
|
Belgian |
95F5741 |
|
Canadian French |
95F5466 |
|
Danish |
95F5467 |
|
Dutch |
95F5467 |
|
French |
95F6313 |
|
German |
95F6314 |
|
Greek |
95F5467 |
|
Hebrew |
95F5741 |
|
Icelandic |
95F5467 |
|
Italian |
95F6316 |
|
Japan |
79F6401 |
|
Norwegian |
95F5467 |
|
Portuguese |
95F5741 |
|
Spanish |
95F6315 |
|
Spanish Speaking |
95F6315 |
|
Swedish/Finnish |
95F5468 |
|
Swiss/French |
95F5711 |
|
Swiss/German |
95F5715 |
|
Turkish |
95F5467 |
|
U.K. English |
95F5741 |
|
U.S. English |
95F5741 |
|
Search Keywords |
| |
|
Document Category |
Hardware Maintenance Information | |
|
Date Created |
11-12-96 | |
|
Last Updated |
16-03-98 | |
|
Revision Date |
12-03-99 | |
|
Brand |
IBM ThinkPad | |
|
Product Family |
Notebook N51 | |
|
Machine Type |
8551 | |
|
Model |
Various | |
|
TypeModel |
| |
|
Retain Tip (if applicable) |
N/A | |
|
Reverse Doclinks |