|
51.566 bytes |
Service Hints & Tips |
Document ID: GSMH-3FHCTS |
IBM PC330/PC350 - Type (6577, 6587) - Pentium 100/133/166/200 MHz system board
Applicable to: World-Wide
PC 330/350 Series (Type 6577, 6587) - Pentium 100/133/166/200 MHz System Board:
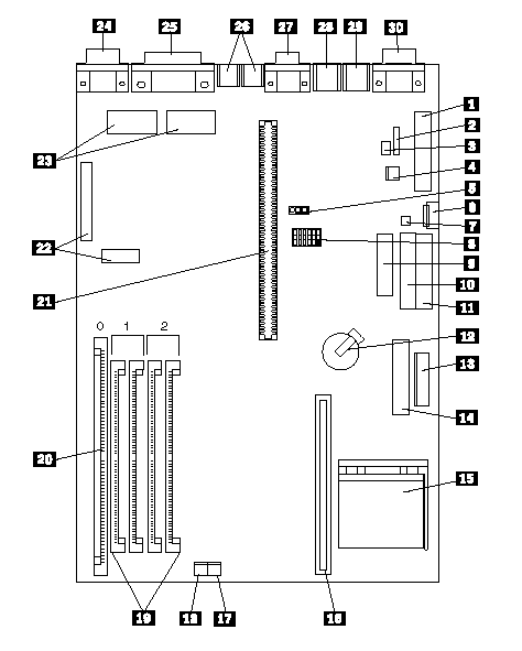
PC 330/350 Series (Type 6577, 6587) - Pentium 100/133/166/200 MHz System Board Locations:
|
1 |
Power connector (5 V) |
|
2 |
Modem ring |
|
3 |
LAN Wake-Up |
|
4 |
Modem ring |
|
5 |
Password jumper (CMOS clear) |
|
6 |
Auxiliary power |
|
7 |
On/Off switch |
|
8 |
Configuration switch set |
|
9 |
Diskette connector |
|
10 |
Primary IDE connector |
|
11 |
Secondary IDE connector |
|
12 |
Battery |
|
13 |
Power connector (3.3 V) |
|
14 |
Voltage Regulator connector (P55C only) |
|
15 |
Processor upgrade socket |
|
16 |
Cache memory module connector |
|
17 |
Power LED connector |
|
18 |
Hard disk access LED connector |
|
19 |
SIMM connectors (Bank 1/2) |
|
20 |
DIMM connector (Bank 0) |
|
21 |
Riser connector |
|
22 |
VESA passthrough connectors |
|
23 |
Video upgrade sockets |
|
24 |
Video port |
|
25 |
ECP/EPP parallel port |
|
26 |
USB ports (1, 2) |
|
27 |
Serial (A) port |
|
28 |
Mouse port |
|
29 |
Keyboard port |
|
30 |
Infrared port |
PC 330/350 Series (Type 6577, 6587) - Pentium 100/133/166/200 MHz Switch/Jumper Settings:
The following tables contain the switch and jumper setting information. (D) indicates the default setting.
Processor Speed Switch Settings (SW1 1-4):
|
Speed |
SW1-1 |
SW1-2 |
SW1-3 |
SW1-4 |
|
75 MHz |
Off |
Off |
On |
On |
|
90 MHz |
Off |
Off |
On |
Off |
|
100 MHz |
Off |
Off |
Off |
On |
|
120 MHz |
On |
Off |
On |
Off |
|
133 MHz |
On |
Off |
Off |
On |
|
150 MHz |
On |
On |
On |
Off |
|
166 MHz |
On |
On |
Off |
On |
|
200 MHz |
Off |
On |
Off |
On |
Additional Switch Settings (SW1 5-6):
|
Description |
SW1-5 |
SW1-6 |
|
Normal |
N/A |
Off (D) |
|
Read-Only |
On |
Password Jumper Settings:
|
Jumper |
Setting |
Description |
|
J15 |
1-2 |
Password Disabled Password Enabled |
|
Search Keywords |
| |
|
Hint Category |
Hardware Maintenance Information | |
|
Date Created |
25-03-97 | |
|
Last Updated |
30-04-98 | |
|
Revision Date |
23-04-99 | |
|
Brand |
IBM PC | |
|
Product Family |
PC 330, PC 350 | |
|
Machine Type |
6577, 6587 | |
|
Model |
Various | |
|
TypeModel |
| |
|
Retain Tip (if applicable) |
| |
|
Reverse Doclinks |