|
26.823 bytes |
Service Hints & Tips |
Document ID: AGRN-42JM3S |
TP 560Z - Removing the power on password
Applicable to: World-Wide
The following information is intended for IBM Dealers and Authorized Servicers only. Customers attempting to follow any of the procedures below may void their warranty.
How to Disable the Power-On Password:
When Only the Power-on Password is Set.
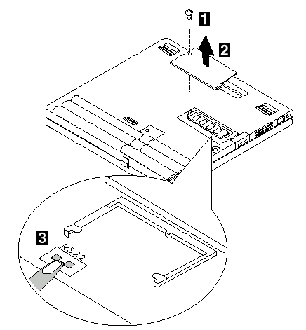
1. Power off the computer.
2. Turn the computer upside down.
3. Loosen the DIMM socket lid screw 1 , and remove the DIMM socket lid 2 .
4. Short the power-on password jumper pads (R522) 3 .
5. Power on the computer and wait until the POST ends. The password is cleared.
6. Reinstall the DIMM socket lid, and turn the computer right side up.
7. Verify that the password prompt does not appear.
8. To reactivate the password, set the password again.
When Both Power-on Password and Supervisor Password are Set
1. Power off the computer.
2. Press and hold F1; then power on the computer.
After a few seconds, the password prompt appears.
3. Enter your supervisor password. The Easy-setup Main Menu appears.
4. Select Password and then Power on. A rectangular box appears.
5. Enter your supervisor password and press the Space bar once.
6. Press Enter twice.
7. Select Exit.
8. Select Restart on the Easy-Setup Main Menu and wait until the POST ends.
9. Reinstall the DIMM socket lid, and turn the computer right side up. Verify that the password prompt does not appear.
To reactivate the password, set the password again.
|
Search Keywords |
| |
|
Hint Category |
Hardware Maintenance Information | |
|
Date Created |
24-11-98 | |
|
Last Updated |
19-01-99 | |
|
Revision Date |
19-01-2000 | |
|
Brand |
IBM ThinkPad | |
|
Product Family |
ThinkPad 560Z | |
|
Machine Type |
2640, 2641 | |
|
Model |
Various | |
|
TypeModel |
| |
|
Retain Tip (if applicable) |
| |
|
Reverse Doclinks |