|
50.731 bytes |
Service Hints & Tips |
Document ID: BMOE-3YFQZZ |
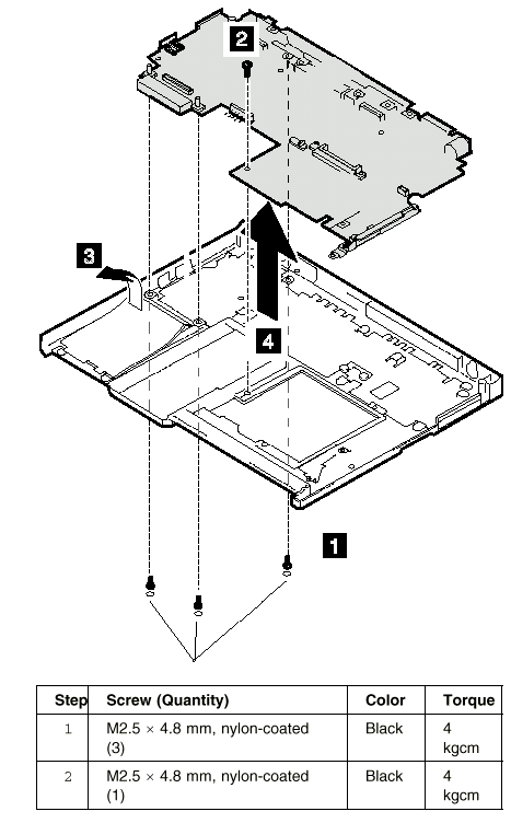
TP 600/E - 1150 System Board Removal
Applicable to: World-Wide
The following information is intended for IBM Dealers and Authorized Servicers only. Customers attempting to follow any of the procedures below may void their warranty.
Backup Battery (1010)
DIMM (1020)
Battery Pack (1030)
Hard Disk Drive (1040)
CD-ROM Drive or Diskette Drive (1050)
Keyboard Assembly (1060)
LCD Assembly (1090)
PC Card (PCMCIA) Slot Assembly (1100)
Modem Card (1110)
Sub Card (1120)
CPU Card and Fan (1130)
TV Out Card (1140)
|
Search Keywords |
| |
|
Hint Category |
Hardware Maintenance Information | |
|
Date Created |
18-09-98 | |
|
Last Updated |
19-01-99 | |
|
Revision Date |
19-01-2000 | |
|
Brand |
IBM ThinkPad | |
|
Product Family |
ThinkPad 600, ThinkPad 600E | |
|
Machine Type |
2645, 2646 | |
|
Model |
Various | |
|
TypeModel |
| |
|
Retain Tip (if applicable) |
| |
|
Reverse Doclinks |